当前位置:首页 > 专利资讯 > 正文

【专利】一种电磁阀(专利号:201921201639.0)

来源:互联网 时间:2020-5-18 09:23 点击:175
专利号:201921201639.0
专利状态:有权
专利类型:[实用新型]
专利申请人:宁波速派电器有限公司
专利分类号:F16K49/00(20060101)
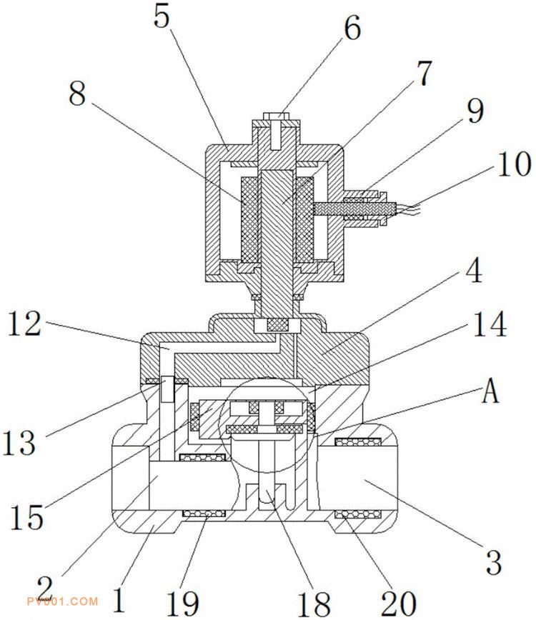
专利摘要:公开(公告)日:2020-05-08摘要:本实用新型涉及电磁阀技术领域,尤其是一种电磁阀,包括阀体,阀体的一端设有流体进口,阀体的另一端设有流体出口,阀体的顶部安装有阀盖,阀盖的顶部设有保护壳体,流体进口的内壁上固定安装有第一发热板,流体出口的内壁上安装有第二发热板,保护壳体的内部卡接有移动铁芯,移动铁芯的外侧缠绕有线圈,保护壳体的外侧安装有出线导管,出线导管远离保护壳体的一端卡接有出线封头,移动铁芯的底部设置有先导孔,先导孔的内部卡接有第一阀芯,阀体内部的顶端设有主阀腔,活塞的底部固定连接有第二阀芯。本实用新型的实用性强,值得推广。