当前位置:首页 > 专利资讯 > 正文

【专利】一种预埋型注浆阀(专利号:201921281737.X)

来源:互联网 时间:2020-5-18 09:20 点击:166
专利号:201921281737.X
专利状态:有权
专利类型:[实用新型]
专利申请人:宜兴市博华路桥工程材料科技有限公司
专利分类号:F16K15/04(20060101)
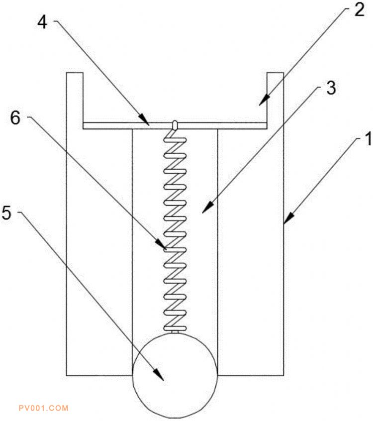
专利摘要:公开(公告)日:2020-05-08摘要:本实用新型公开了一种预埋型注浆阀,包括阀体,所述阀体顶部设有凹槽,所述凹槽中心设有连通于阀体底部的注浆孔,所述凹槽内设有圆销柱,所述阀体底部设有卡在注浆孔内的钢珠,所述圆销柱通过弹簧连接于钢珠。本实用具有如下优点:整体由金属材料制成,所受的外部压力可以达到20个兆帕以上,在注浆过程中浆液在压浆机的推动下浆液单向喷出,不会产生回流,并且喷头材料为钢珠,安装在注浆阀的最末端部位,浆液不会在管道中凝固。