当前位置:首页 > 专利资讯 > 正文

【专利】一种智能型阀门(专利号:201920173216.6)

来源:互联网 时间:2019-12-16 12:36 点击:102
专利号:201920173216.6
专利状态:有权
专利类型:[实用新型]
专利申请人:哈电集团哈尔滨电站阀门有限公司
专利分类号:F16K37/00(20060101)
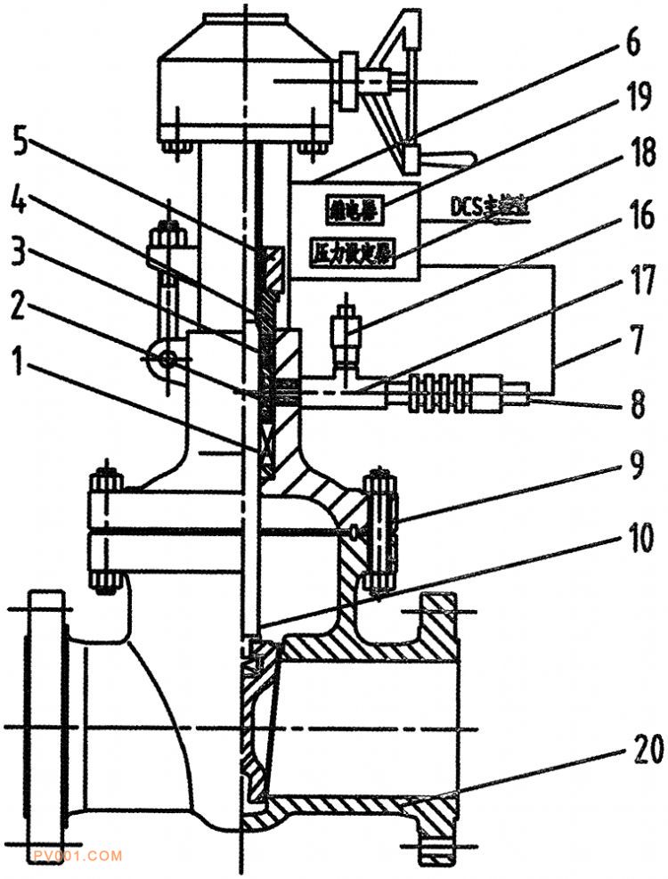
专利摘要:公开(公告)日:2019-11-26摘要:本实用新型涉及一种智能型阀门,用于电力、石化、新能源等领域的阀门,包括闸阀截止阀球阀蝶阀等产品。智能型阀门主要由阀体、阀盖、阀杆、下填料环、上填料环、填料压盖、填料盖板、控制箱、压力变送器、隔离环等组成。阀盖处安装压力变送器,当阀杆处填料发生介质泄漏时,泄漏介质会在隔离环处汇聚,并由压力变送器实时监测隔离环处介质压力,传递给控制箱内的压力设定器,当介质压力超过设定值时,控制箱的红灯亮发出报警信号,同时控制箱发出电信号,通知控制室阀杆处介质泄漏,及时采取措施,大大提高了阀门泄漏检测的智能性。