当前位置:首页 > 专利资讯 > 正文

【专利】一种侧出油式线控制动系统高速开关电磁阀(专利号:201821953070.9)

来源:互联网 时间:2019-12-16 12:35 点击:137
专利号:201821953070.9
专利状态:有权
专利类型:[实用新型]
专利申请人:万向钱潮股份有限公司
专利分类号:万向集团公司
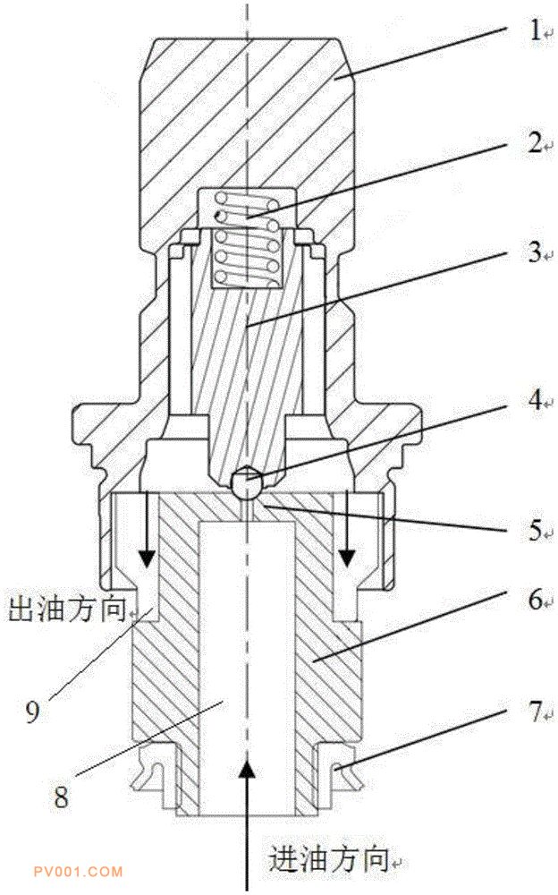
专利摘要:公开(公告)日:2019-11-26摘要:本实用新型公开了一种侧出油式线控制动系统高速开关电磁阀,线圈套在阀体上,包括阀体、预紧弹簧、动铁、钢球、球座、出油油路、进油油路和阀座,所述阀体与阀座密封连接,阀体内部中空,阀体内部底部连接预紧弹簧,动铁底部中央开孔并通过该孔与预紧弹簧连接,动铁顶部中央开孔并通过该孔容纳钢球;阀座内部中央开设两端开口的进油油路,进油油路上端开口为球座,球座直径小于钢球直径并且设置有锥面,球座通过锥面与钢球配合,进油油路与外部连通,在阀座内部的进油油路外围开设两端开口的出油油路,出油油路与外部连通。