当前位置:首页 > 专利资讯 > 正文

【专利】一种洗衣机进水管单向阀检漏装置(专利号:201920508563.X)

来源:互联网 时间:2019-12-16 09:54 点击:97
专利号:201920508563.X
专利状态:有权
专利类型:[实用新型]
专利申请人:无锡宏杰丰淼模塑有限公司
专利分类号:G01M3/08(20060101)
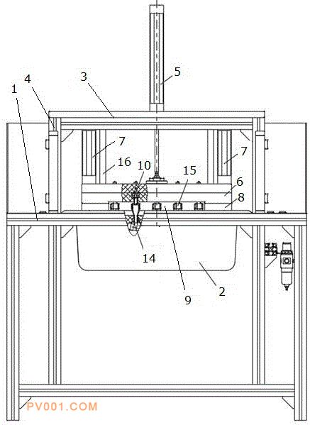
专利摘要:公开(公告)日:2019-11-26摘要:本实用新型涉及单向阀检测技术领域,具体为一种洗衣机进水管单向阀检漏装置,其能够有效提高单向阀的检测效率,其包括底座,所述底座上安装有水槽,所述水槽内盛装有水,其特征在于,所述水槽上方安装有支架,所述支架通过立柱支撑于所述底座上,所述支架上安装有第一气缸,所述第一气缸的活塞杆连接通气板,所述通气板上安装有第二气缸,所述第二气缸的活塞杆连接固定座,所述固定座上端面设置有至少两个单向阀放置槽,所述通气板底部开设有对应所述单向阀放置槽的密封口,所述密封口通过进气支管连接进气总管,所述进气总管通有压缩空气,每个所述进气支管上安装有控制阀。