当前位置:首页 > 专利资讯 > 正文

【专利】一种新型减压阀辅助安装设备(专利号:201920283453.8)

来源:互联网 时间:2019-12-16 09:55 点击:97
专利号:201920283453.8
专利状态:有权
专利类型:[实用新型]
专利申请人:中日龙(襄阳)机电技术开发有限公司
专利分类号:B25B27/24(20060101)
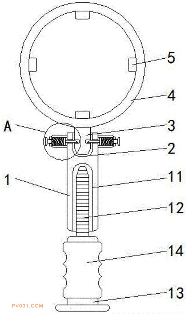
专利摘要:公开(公告)日:2019-11-26摘要:本实用新型涉及减压阀安装工具技术领域,且公开了一种新型减压阀辅助安装设备,包括安装杆,所述安装杆的顶部开设有承接槽,所述承接槽的内部活动安装有一端贯穿并延伸到安装杆上方的对接杆。该新型减压阀辅助安装设备,通过设置在安装杆上的承接槽和套环上的对接杆,使用者在使用设备时,使用者拉动拉杆,限位钉脱离限位槽,使用者将套环拿起,对接杆脱离承接槽,使用者将需要使用的其他型号的套环拿来,对接杆进入承接槽,限位钉进入限位槽,设备完成套环的更换,使用者不需要购买不同型号的设备,只需要准备不同型号的套环即可,大大节省了支出,且节约了资源,免去了使用者的烦恼,方便了使用者的使用。