当前位置:首页 > 专利资讯 > 正文

【专利】园艺喷水器控制阀(专利号:201920329848.7)

来源:互联网 时间:2019-12-16 09:35 点击:125
专利号:201920329848.7
专利状态:有权
专利类型:[实用新型]
专利申请人:欣大园艺喷水工具有限公司
专利分类号:F16K31/06(20060101)
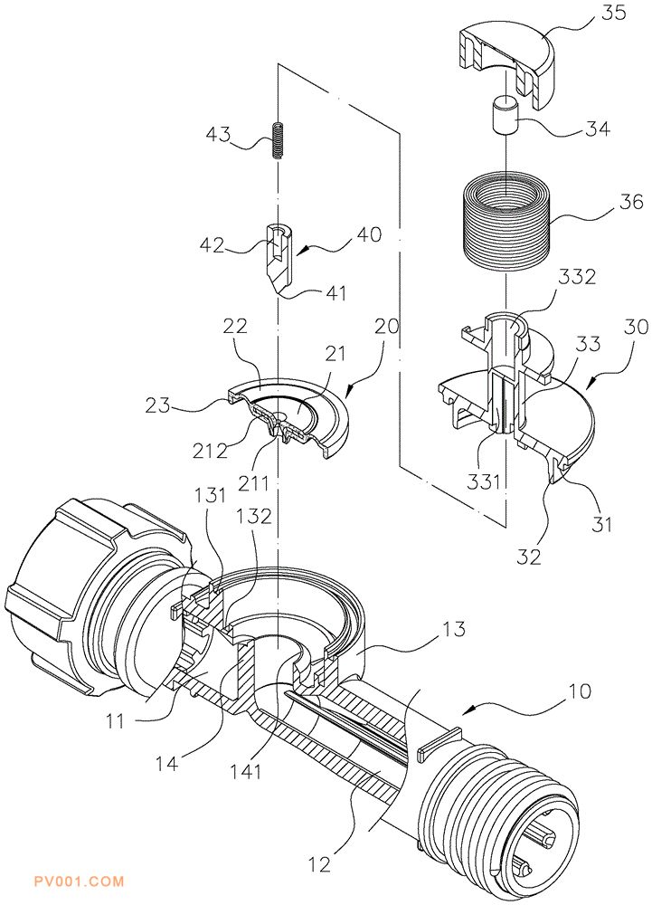
专利摘要:公开(公告)日:2019-11-26摘要:本实用新型公开一种园艺喷水器控制阀,其包括有:一园艺用管、一橡胶阀片、一盖体及一阀柱,该园艺用管于该阀管内置入有该橡胶阀片,让该橡胶阀片的固定环卡设于该园艺用管的环槽处,且该盖体盖合于该阀管而使定位环下压该橡胶阀片,同时该阀柱受到该圈状压缩弹簧的顶推,使该阀柱顶压于该橡胶阀片,且该盖体的凸环嵌入该阀管的连接环槽内,借此在未转动该定位环与该橡胶阀片的前提下,通过高周波粘合加工让该凸环与该连接环槽互相粘合固定,具有消除该橡胶阀片于组装时有因为扭转而影响其密封效果的情况,以兼具有增加组装良率与结合强度的实用性。