当前位置:首页 > 专利资讯 > 正文

【专利】一种角阀连接结构、喷枪组件及马桶(专利号:201920171571.X)

来源:互联网 时间:2019-12-16 09:36 点击:140
专利号:201920171571.X
专利状态:有权
专利类型:[实用新型]
专利申请人:广东顶尖管业科技有限公司
专利分类号:E03D1/32(20060101)
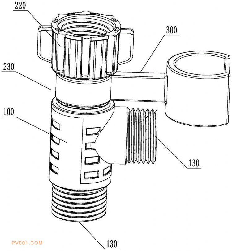
专利摘要:公开(公告)日:2019-11-26摘要:本实用新型公开了一种角阀连接结构及具有其的喷枪组件和马桶,角阀连接结构包括主体、内芯和连接杆,主体的内部具有第一水流通道,第一水流通道包括一个进水端口和两个出水端口;内芯具有第二水流通道,内芯的一端与进水端口连接且连接处密封配合,另一端可拆卸的安装有用于与外部管件连接的连接件,连接件与进水端口之间构造成一安装间隙;连接杆的一端与内芯转动配合,且设置在安装间隙内,以对其沿内芯的轴线方向的运动进行限位,连接杆的另一端设置有用于悬挂喷枪的悬挂凹部。本实用新型的一种角阀连接结构及具有其的马桶,结构简单,便于安装,使用方便。