当前位置:首页 > 专利资讯 > 正文

【专利】适用于重型车辆紧急工况的转向液压泵(专利号:202010130739.X)

来源:互联网 时间:2020-5-28 12:13 点击:143
专利号:202010130739.X
专利状态:审中-公开
专利类型:[发明]
专利申请人:山东交通学院
专利分类号:B62D5/06(20060101)
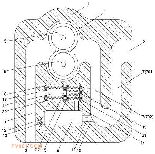
专利摘要:公开(公告)日:2020-05-22摘要:本发明公开了一种适用于重型车辆紧急工况的转向液压泵,其可在车辆,尤其是重型车辆遭遇紧急工况而导致发动机停止运转,且需要紧急转向的情形下,令转向液压泵可自动在一定时段内保持有效的转向加力作用,进而使得驾驶人员在发动机停止运转后即可立刻执行有效的转向操作;因此,本发明中的适用于重型车辆紧急工况的转向液压泵解决了相关技术中转向液压泵在发动机停止运转后无法立即进行转向加力,以导致重型车辆在紧急工况下的安全性无法得到保障的技术问题,以达到有效保证了重型车辆在紧急工况下的车辆与人员安全的效果。