当前位置:首页 > 专利资讯 > 正文

【专利】可防止柱塞偏磨的机油泵限压阀(专利号:201921527305.2)

来源:互联网 时间:2020-5-28 12:11 点击:157
专利号:201921527305.2
专利状态:有权
专利类型:[实用新型]
专利申请人:湖南机油泵股份有限公司
专利分类号:F16K17/04(20060101)
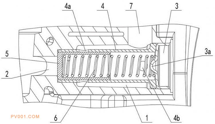
专利摘要:公开(公告)日:2020-05-12摘要:可防止柱塞偏磨的机油泵限压阀,涉及机油泵技术领域,其包括阀孔,所述阀孔的前端连通限压阀进油口并设有台阶面、后端安装有堵塞,所述阀孔内安装有阀套,所述阀套的前端抵住台阶面、后端抵住堵塞,所述阀孔的孔身由前往后包括内径与阀套的外径相匹配的装配段以及内径大于阀套外径的泄油段,所述泄油段连通泄油口,位于所述泄油段的阀套上环形且均匀间隔开设有多个泄油孔,所述阀套内设有可活动的柱塞,所述柱塞的后端开设有安装槽,所述安装槽内设有弹簧,所述弹簧的前端抵住安装槽的槽底部、后端抵住堵塞。本实用新型可使柱塞周围受到的油液压力均匀,从而防止柱塞偏磨,降低柱塞卡滞风险。