当前位置:首页 > 专利资讯 > 正文

【专利】长轴深井消防泵组(专利号:201921573420.3)

来源:互联网 时间:2020-5-12 13:45 点击:156
专利号:201921573420.3
专利状态:有权
专利类型:[实用新型]
专利申请人:上海丹博泵业制造有限公司
专利分类号:F04D13/10(20060101)
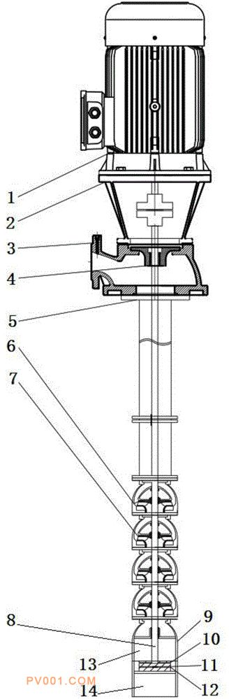
专利摘要:公开(公告)日:2020-05-08摘要:本实用新型公开了一种长轴深井消防泵组,属于液体泵技术领域,包括自上而下设置的电机、泵壳、扬水管及泵体工作部,所述泵体工作部包括多级串联的导流壳,所述导流壳内设有叶轮,所述电机的输出轴与传动泵轴同轴固定,所述传动泵轴自上而下贯穿泵壳、扬水管及导流壳,所述叶轮固定于传动泵轴上,所述传动泵轴的下端设有止推机构。本实用新型通过在泵轴底部设置止推机构,可以有效防止传动泵轴在运行过程中叶轮上窜与导流壳发生碰撞或磨损而导致叶轮或导流壳迅速磨损、电机负载增大而烧毁电机等事故发生,利用本实用新型能够提高泵在高负载和停止状态下的对轴向力承载能力,有效地提高了长轴深井泵轴的使用寿命。