当前位置:首页 > 专利资讯 > 正文

【专利】一种密封稳定的涡轮固定球阀(专利号:201921171591.3)

来源:互联网 时间:2020-5-7 08:02 点击:160
专利号:201921171591.3
专利状态:有权
专利类型:[实用新型]
专利申请人:永嘉县远丰阀门有限公司
专利分类号:F16K5/06(20060101)
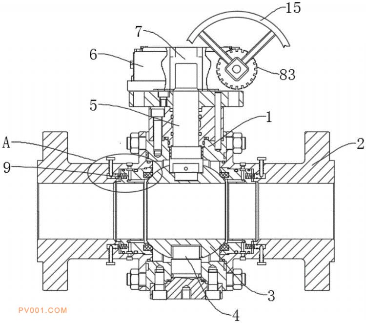
专利摘要:公开(公告)日:2020-04-17摘要:本实用新型公开了一种密封稳定的涡轮固定球阀,包括阀体,阀体的两端均连接阀盖,阀体内套接球体,球体的两侧和阀盖间安装有密封机构,球体的顶部和底部分别套接阀杆和下轴,阀杆和下轴套接在阀体的内壁顶部和底部,阀体的顶部外壁安装有安装箱,阀杆贯穿阀体顶部并套接蜗轮,且蜗轮套接在安装箱内,安装箱的一侧套接蜗杆,蜗杆啮合蜗轮,蜗杆的一端贯穿安装箱并连接手轮,手轮和安装箱间安装有锁定件。通过手轮带动蜗杆转动,从而使得蜗轮带动阀杆转动,实现球体的转动,从而对阀门进行启闭,且锁定件能够在任意位置对手轮进行快速锁定,便于球体处于半开启状态从而实现阀门的流量调节,且密封机构确保球体两侧的密封性,避免出现泄漏。