当前位置:首页 > 专利资讯 > 正文

【专利】真空泵(专利号:201910949157.1)

来源:互联网 时间:2020-4-25 12:36 点击:112
专利号:201910949157.1
专利状态:审中-公开
专利类型:[发明]
专利申请人:株式会社岛津制作所
专利分类号:F04D19/04(20060101)
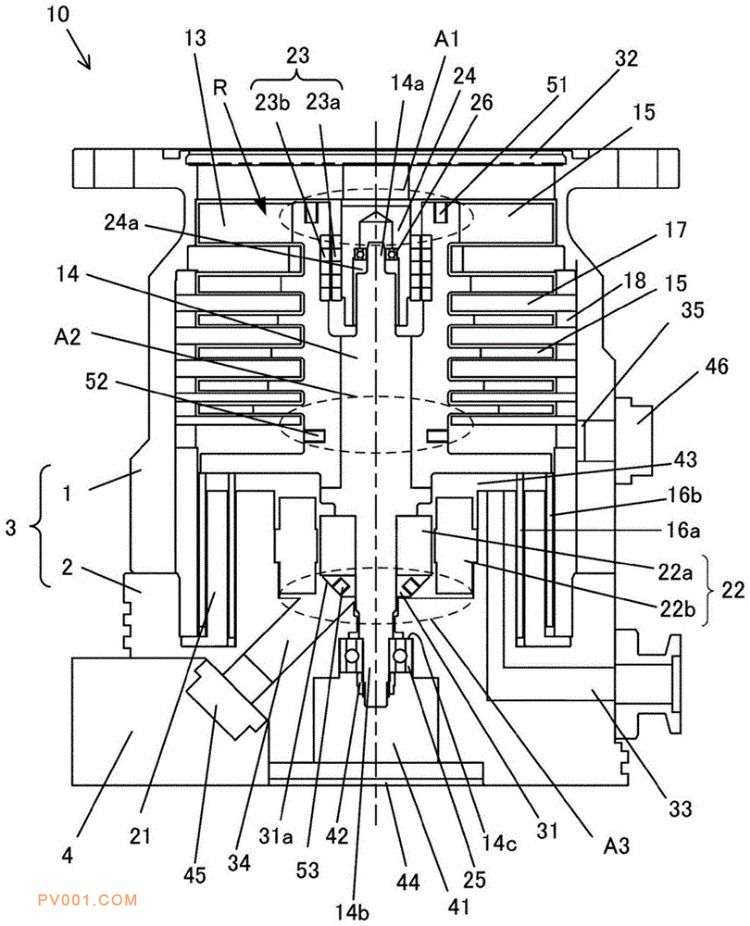
专利摘要:公开(公告)日:2020-04-21摘要:本发明提供一种真空泵,能够从壳体外部进入至旋转体的平衡修正部,并且能够进行应对至旋转体的n(n 3)次危险速度的平衡修正。真空泵包括壳体及至少三个平衡修正部,所述壳体能够旋转地收容旋转体,所述至少三个平衡修正部包括设置于旋转体的一端侧的第一个平衡修正部、设置于旋转体的另一端侧的第二个平衡修正部、及设置于第一个平衡修正部与第二个平衡修正部之间的第三个平衡修正部,能够利用能从壳体的外部进入至三个平衡修正部中的任一者的n(n 3)面法进行平衡修正。