当前位置:首页 > 专利资讯 > 正文

【专利】一种新型手动双连杆密闭阀门(专利号:201921499650.X)

来源:互联网 时间:2020-5-21 15:25 点击:162
专利号:201921499650.X
专利状态:有权
专利类型:[实用新型]
专利申请人:福建建合人防工程设备有限公司
专利分类号:F16K1/226(20060101)
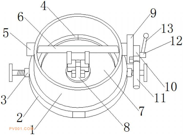
专利摘要:公开(公告)日:2020-05-05摘要:本实用新型涉及密闭阀门技术领域,且公开了一种新型手动双连杆密闭阀门,包括阀体,阀体的侧面设置有环形凹槽,环形凹槽的两侧固定连接有小套筒,小套筒内部设置有螺纹,阀体的内部设置有固定装置,固定装置与阀盖固定连接,阀盖的中部与联动块的下端固定焊接。该新型手动双连杆密闭阀门,当密闭阀门需要关闭的时候,由工人旋转手柄将阀盖调节到密闭状态,再通过调节两端的螺纹调节杆,由于螺纹调节杆的一端固定连接有与夹持块一端开设的T形圆槽活动套接的圆柱块,旋转螺纹调节杆带动夹持块向内侧移动,对阀盖进行夹紧,不仅对阀盖提供一个预紧力,而且可以起到一定的支撑作用,防止阀盖边缘变形,达到更好地密封效果。