当前位置:首页 > 专利资讯 > 正文

【专利】一种能够实现通道转换的电爆阀(专利号:201911296120.X)

来源:互联网 时间:2020-5-16 15:49 点击:172
专利号:201911296120.X
专利状态:审中-公开
专利类型:[发明]
专利申请人:北京动力机械研究所
专利分类号:F16K11/044(20060101)
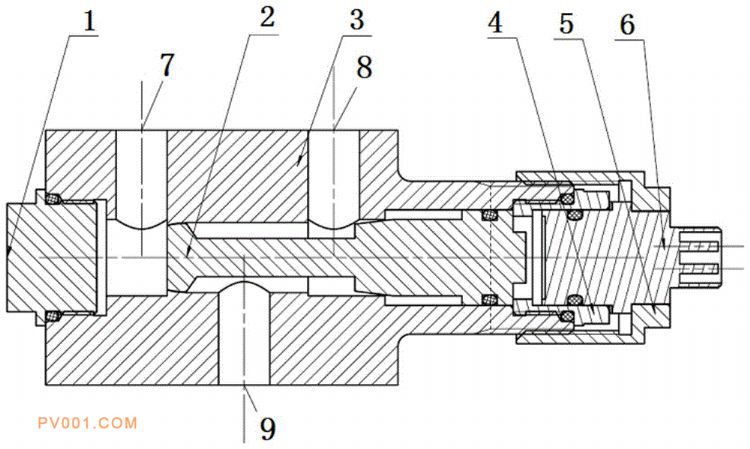
专利摘要:公开(公告)日:2020-05-08摘要:本发明提供一种能够实现通道转换的电爆阀,具有两个通道,能够实现两个通道之间的一次性切换。包括堵头、活塞、阀体和点火元件。阀体内部设置有轴向的中心通孔,阀体周向上加工有三个与其中心通孔连通的通孔;三个通孔沿阀体的轴向间隔设置,其中通孔B位于通孔A和通孔C之间的位置;活塞套装在阀体的中心通孔内;阀体中心通孔的一端通过堵头封闭,另一端密封安装点火元件;点火元件未启动时,活塞位于阀体内部点火元件所在端,通孔B和通孔C之间通过阀体的中心通孔连通,活塞封闭通孔A与通孔B之间的连通通路;当点火元件启动推动活塞向堵头所在端移动设定距离后,通孔A与通孔B之间通过阀体的中心通孔连通,活塞封闭通孔C与通孔B之间的连通通路。