当前位置:首页 > 专利资讯 > 正文

【专利】一种专用于抽取黏稠流质液体食品的泵头(专利号:201921473450.7)

来源:互联网 时间:2020-5-13 14:36 点击:162
专利号:201921473450.7
专利状态:有权
专利类型:[实用新型]
专利申请人:黄朝明
专利分类号:B65D47/34(20060101)
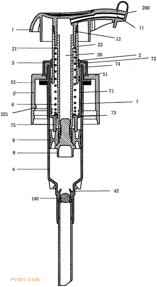
专利摘要:公开(公告)日:2020-05-05摘要:本实用新型提供的一种专用于抽取黏稠流质液体食品的泵头,包括按头、主柱、外锁盖、本体、外盖、弹簧和内锁盖,所述主柱的轴心位置设置有中空,用于液体流动,所述按头安装在主柱上,主柱设置在本体的空腔内,本体被外锁盖和内锁盖固定在外盖上,所述主柱的上部设置有外套筒,外套筒通过圆环板与主柱固定连接,所述弹簧设置在圆环板下部的主柱与外套筒之间的空间内,所述主柱和弹簧安装在内锁盖内,主柱的下部分穿过所述内锁盖延伸出去,弹簧控制在主柱与内锁盖之间进行活动伸缩。由于采用这样的结构,弹簧和液体食物分开,从而避免弹簧的锈质融入到液体食物中,液体食物的环保和卫生得到了保证。