当前位置:首页 > 专利资讯 > 正文

【专利】一种强扣大圈喷雾泵(专利号:201921343146.0)

来源:互联网 时间:2020-5-13 14:34 点击:101
专利号:201921343146.0
专利状态:有权
专利类型:[实用新型]
专利申请人:宁波市舜德医疗科技有限公司
专利分类号:B05B9/04(20060101)
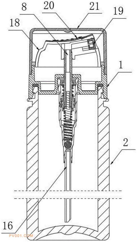
专利摘要:公开(公告)日:2020-05-05摘要:本实用新型公开了一种强扣大圈喷雾泵,涉及到喷雾泵领域,包括强扣大圈与瓶体外壳,所述瓶体外壳位于强扣大圈底部;所述强扣大圈底部开设有密封槽,所述密封槽内部设置有第一密封圈以及密封槽内壁上固定设置有上限位卡环,所述第一密封圈顶部与密封槽内壁贴合,所述第一密封圈底部与瓶体外壳顶部贴合;所述瓶体外壳外侧顶部固定设置有限位凸板与下限位卡环,所述下限位卡环位于限位凸板顶部,所述下限位卡环位于密封槽内部,且下限位卡环与上限位卡环相互卡合,所述强扣大圈底部与限位凸板顶部贴合。本实用新型可直接利用瓶体外壳对溶液进行盛装,同时有效简化了内部结构,降低了生产成本以及提高了生产效率。