当前位置:首页 > 专利资讯 > 正文

【专利】一种灵敏度高且冲击力大的电磁脉冲震动阀(专利号:201921282311.6)

来源:互联网 时间:2020-4-25 12:56 点击:174
专利号:201921282311.6
专利状态:有权
专利类型:[实用新型]
专利申请人:启东市金猴除尘成套设备有限公司
专利分类号:F16K1/36(20060101)
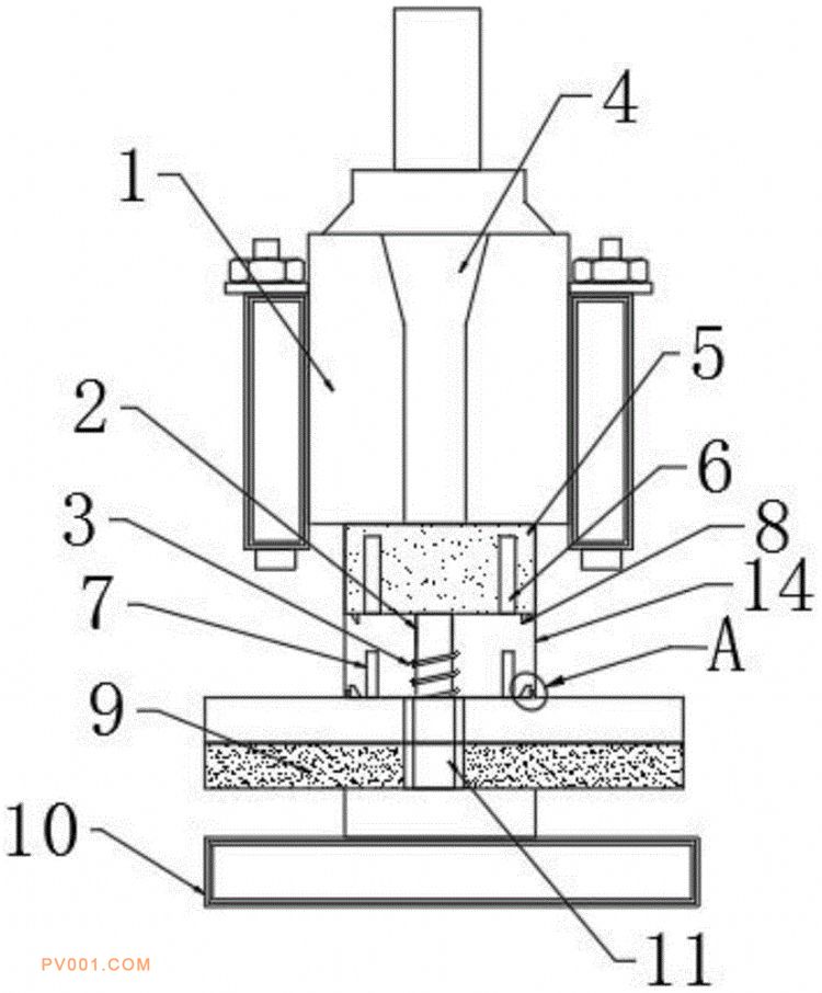
专利摘要:公开(公告)日:2020-04-21摘要:本实用新型公开了一种灵敏度高且冲击力大的电磁脉冲震动阀,包括震动阀和锤体,锤体设置于震动阀的底端,震动阀的内部设置有第一空腔,锤体的内部滑动连接有震动块,震动块的底端固定连接有连接杆,锤体的底端固定连接有阀座,阀座的内部与连接杆的位置相对应处开设有第二空腔,震动块底端固定设有环形矩阵设置的第一梯形块,阀座的顶端滑动设置有第二梯形块。本实用新型设有的震动块可以进行竖直方向的震动,同时设有的第一梯形块可以推动第二梯形块震动锤体的内部,可以进行横向震动,提高震动效果。