当前位置:首页 > 专利资讯 > 正文

【专利】压力调节阀、压力控制阀以及反应腔室(专利号:201911300970.2)

来源:互联网 时间:2020-4-24 12:27 点击:155
专利号:201911300970.2
专利状态:审中-公开
专利类型:[发明]
专利申请人:北京七星华创流量计有限公司
专利分类号:F16K1/22(20060101)
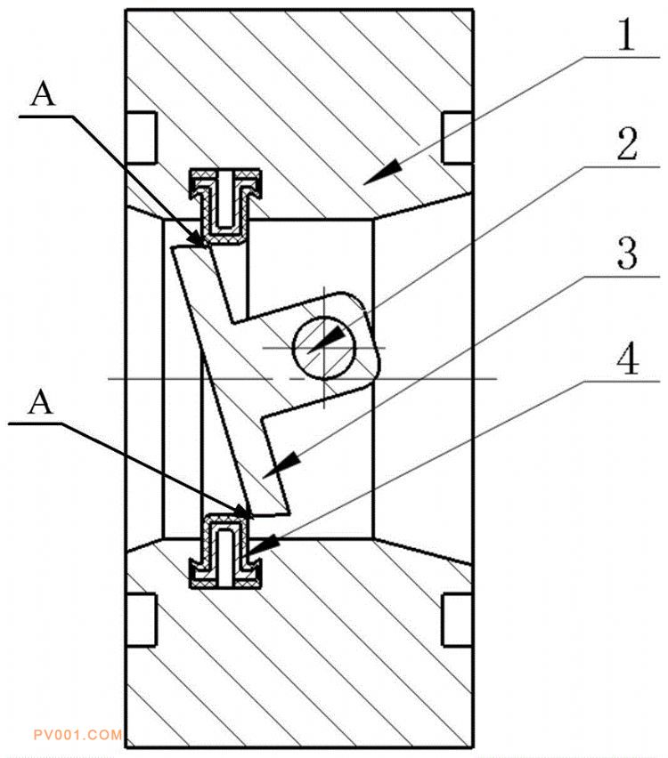
专利摘要:公开(公告)日:2020-04-21摘要:本发明提供的一种压力调节阀调节阀为三偏心蝶阀,三偏心蝶阀包括具有流道的阀座、设置在流道中的碟片以及密封圈,其中,流道的周壁上设置有凹槽,凹槽的侧壁上设置有第一配合部;密封圈包括支撑部和密封部,支撑部上设置有第二配合部,支撑部设置在凹槽中,且第二配合部与第一配合部向卡合,以防止密封圈从凹槽中脱落,密封部与支撑部连接,用于在碟片关闭时,密封碟片两侧的空间。本发明利用第二配合部与第一配合部相互配合,以将密封圈固定在阀座的流道中,避免密封圈脱落,进而提高压力调节阀的密封性,增加压力调节阀的稳定性。本发明还提供了一种压力控制阀和一种反应腔。