当前位置:首页 > 专利资讯 > 正文

【专利】具有淤泥分离功能的一体化泵站(专利号:201920794703.4)

来源:互联网 时间:2020-4-1 13:35 点击:136
专利号:201920794703.4
专利状态:有权
专利类型:[实用新型]
专利申请人:苏州世铖元润环保技术有限公司
专利分类号:E03F5/22(20060101)
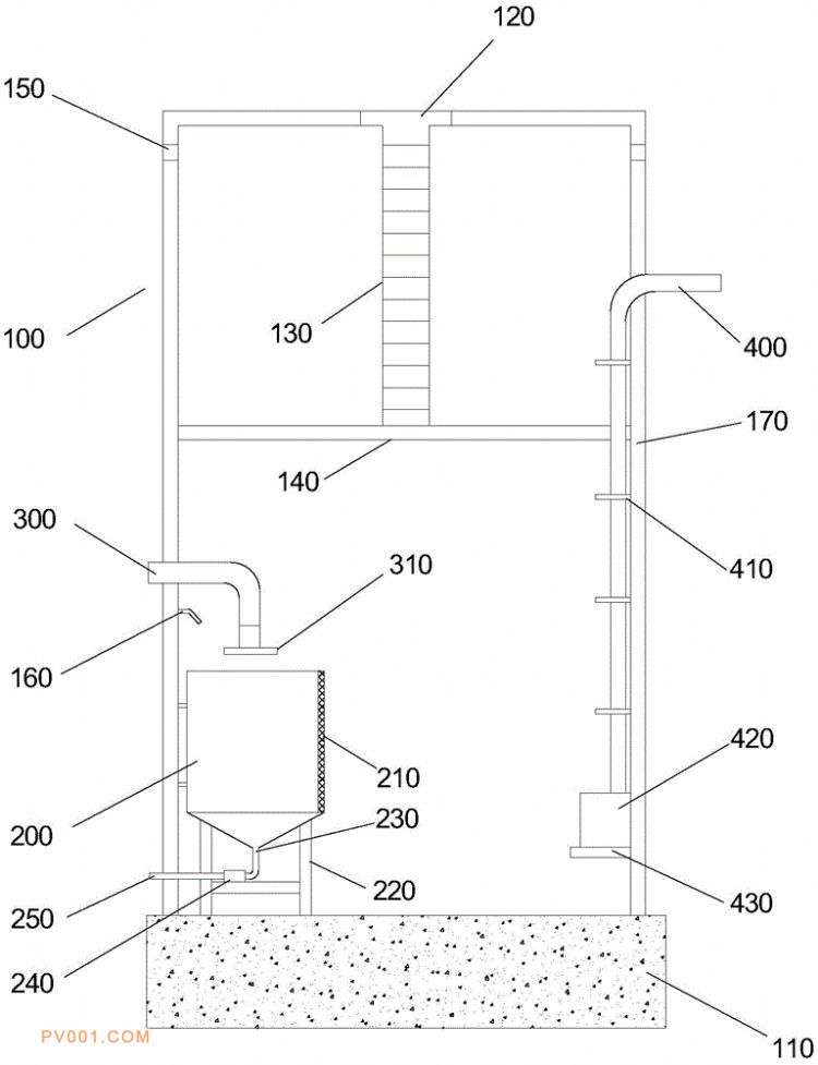
专利摘要:公开(公告)日:2020-03-27摘要:本实用新型公开了一种具有淤泥分离功能的一体化泵站,包括泵站筒体、进水管道、出水管道以及潜水泵,所述进水管道和出水管道均设于泵站筒体的侧壁上;所述泵站筒体内还设有淤泥处理筒、污泥泵和排污管,所述淤泥处理筒位于进水管道出口的下方,其侧壁为淤泥过滤网,所述淤泥处理筒具有弧形或锥形的底壁,底壁上具有污泥出口;所述淤泥处理筒的下方设有用于支撑所述淤泥处理筒的支撑座,所述污泥泵安装于所述支撑座上,通过管道与污泥出口连通;所述排污管一端连接于污泥泵上,另一端通向泵站筒体外部的污泥回收装置。本实用新型的一体化泵站,能够实现淤泥的分离,避免了泵站底部堆积淤泥和垃圾,大大减少了泵站的清理和维护工作。