当前位置:首页 > 专利资讯 > 正文

【专利】一种旋涡泵及其流量检测阀(专利号:201920817963.9)

来源:互联网 时间:2020-4-1 08:49 点击:81
专利号:201920817963.9
专利状态:有权
专利类型:[实用新型]
专利申请人:温岭市三星水泵
专利分类号:F04D15/00(20060101)
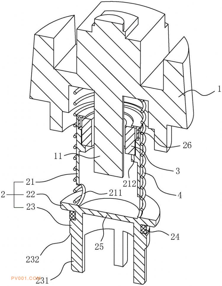
专利摘要:公开(公告)日:2020-03-27摘要:本实用新型公开了一种旋涡泵及其流量检测阀,涉及水泵技术领域,其技术方案要点是:流量检测阀包括阀座和底阀,阀座内设有干簧管,底阀上设有供干簧管穿过的磁环,底阀和阀座间设有弹簧,底阀的材料为铜,底阀包括用于固定磁环的套筒部、用于抵接弹簧的抵接部,弹簧套设于套筒部外,底阀内设有将其两端分隔的隔板。底阀还包括用于与水泵的水道孔滑动配合的导向部,导向部位于抵接部背离套筒部的一侧。本流量检测阀通过设置铜制的底阀,水温变化较大时,底阀的尺寸变化远小于塑料,不易影响流量检测的准确性;通过设置导向杆,提高了底阀滑动的稳定性;底阀的外壁形状能够实现导向部的自清洁,泥沙等颗粒物不易嵌于底阀与泵体的滑动间隙内。