当前位置:首页 > 专利资讯 > 正文

【专利】一种单体家庭马桶真空泵(专利号:201911212591.8)

来源:互联网 时间:2020-4-1 08:48 点击:116
专利号:201911212591.8
专利状态:审中-公开
专利类型:[发明]
专利申请人:厚力德机器(杭州)有限公司
专利分类号:F04C25/02(20060101)
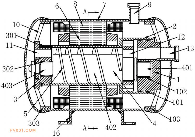
专利摘要:公开(公告)日:2020-03-27摘要:本发明公开了一种单体家庭马桶真空泵,包括第一支撑体、旋转壳体、第二支撑体、旋转体、螺旋叶片、转子铁芯、外壳体、定子铁芯和进气管,外壳体内部设置有第一支撑体和第二支撑体;所述第一支撑体上设置有第一套圆柱,第一套圆柱一侧开设有第一安装圆槽;第一套圆柱和第二套圆柱外侧套设有旋转壳体,旋转体的中转体外侧设置有螺旋叶片,第一轴端设置在第一安装圆槽内,第二轴端设置在第二安装圆孔内,旋转壳体外侧设置有若干转子铁芯;外壳体内侧壁上固定有若干定子铁芯;本发明结构简单,散热效果好,产生真空效果佳,使用寿命长,可以进行广泛推广和使用。