当前位置:首页 > 专利资讯 > 正文

【专利】一种蝶阀重锤式传动装置的定位结构(专利号:201920621643.6)

来源:互联网 时间:2020-2-17 09:02 点击:193
专利号:201920621643.6
专利状态:有权
专利类型:[实用新型]
专利申请人:正洲泵阀制造有限公司
专利分类号:F16K1/32(20060101)
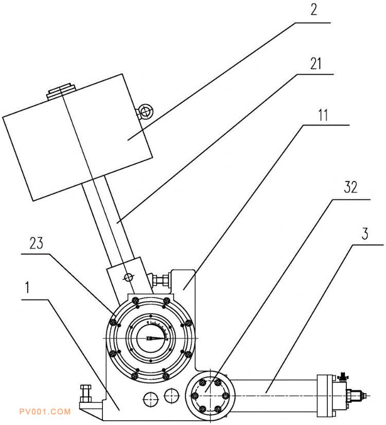
专利摘要:公开(公告)日:2020-01-24摘要:本实用新型公开了一种蝶阀重锤式传动装置的定位结构,包括定位座、重锤和驱动件,所述定位座两侧设置有定位板,两定位板上对称设置有摆动孔,所述重锤向定位座中延伸有摆杆,所述摆杆上形成有摆动轴,所述重锤通过摆动轴摆动设置在摆动孔中,所述定位板上对应摆动孔位置设置有定位轴套,所述定位轴套套设在摆动轴外形成摆动轴在摆动孔中的定位,所述定位座两侧形成有安装孔,所述驱动件上设置有定位轴,所述驱动件通过定位轴设置在安装孔中,所述驱动件输出端与摆杆传动连接形成对重锤举升或落下的驱动。便于对重锤位置进行定位,调整检修方便,同时结构简单,利于实现。