当前位置:首页 > 专利资讯 > 正文

【专利】一种便于检修安装的闸阀(专利号:201822163376.0)

来源:互联网 时间:2019-12-16 13:14 点击:111
专利号:201822163376.0
专利状态:有权
专利类型:[实用新型]
专利申请人:纽曼(盐城)阀门制造有限公司
专利分类号:F16K51/00(20060101)
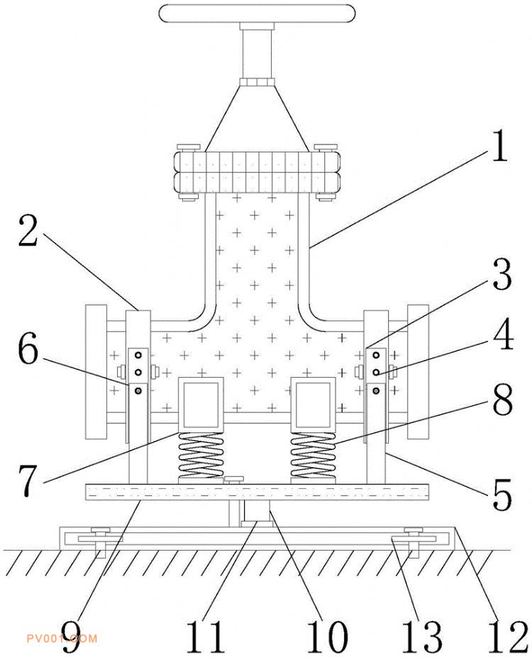
专利摘要:公开(公告)日:2019-11-26摘要:本实用新型公开了一种便于检修安装的闸阀,包括闸阀本体、支撑座、连接轴和固定片,闸阀本体安装在连接座上,前置槽通过其内表面预留的定位孔与支撑杆螺栓连接,支撑座对称安装在闸阀本体的底部,连接轴的一端焊接在底板的底部中心位置,固定片焊接在安装板的外侧,闸阀本体的外部两侧对称固定有侧边块,连接座的中心位置开设有承托槽,前置槽的内侧壁开设有内置滑槽,支撑座的上表面预留有插孔,该便于检修安装的闸阀,闸阀本体在与连接座相互连接后,也能够与支撑座相互连接,支撑座的底部还安装有连接弹簧,连接弹簧的使用还能够起到很好的减震作用,从而更加方便闸阀本体的运行。