当前位置:首页 > 专利资讯 > 正文

【专利】一种金属密封平板闸阀(专利号:201822174073.9)

来源:互联网 时间:2019-12-16 12:45 点击:113
专利号:201822174073.9
专利状态:有权
专利类型:[实用新型]
专利申请人:纽曼(盐城)阀门制造有限公司
专利分类号:F16K27/04(20060101)
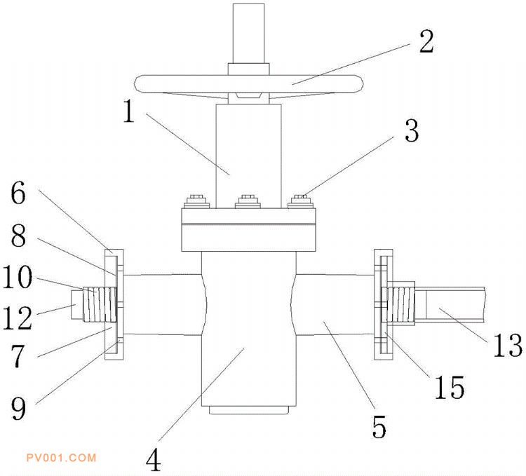
专利摘要:公开(公告)日:2019-11-26摘要:本实用新型公开了一种金属密封平板闸阀,包括阀门上壳体、延伸件和外接管,所述阀门上壳体的上端焊接有旋转把手,且阀门上壳体的下端表面通过固定栓件与阀门下壳体的上端表面相互连接,并且阀门下壳体的两侧均焊接有连接管道,所述连接管道的外侧边缘固定有第一连接件,且第一连接件的内部预留有预留槽,并且预留槽的内侧表面粘接有密封片,所述延伸件安装在第一连接件的内侧表面中心位置,且延伸件的内部表面焊接有限位圈,并且限位圈的外侧表面固定有延伸管道,所述外接管通过第二连接件与第一连接件相互连接。该金属密封平板闸阀,阀体和外接管两者连接过程中采用了三种不同的连接方式相互配合进行稳定固定,在一定程度上减小了渗漏情况。