当前位置:首页 > 专利资讯 > 正文

【专利】一种ECR阀电控结构(专利号:201920355664.8)

来源:互联网 时间:2019-12-16 12:26 点击:108
专利号:201920355664.8
专利状态:有权
专利类型:[实用新型]
专利申请人:温州市温纳汽车配件有限公司
专利分类号:F16K31/02(20060101)
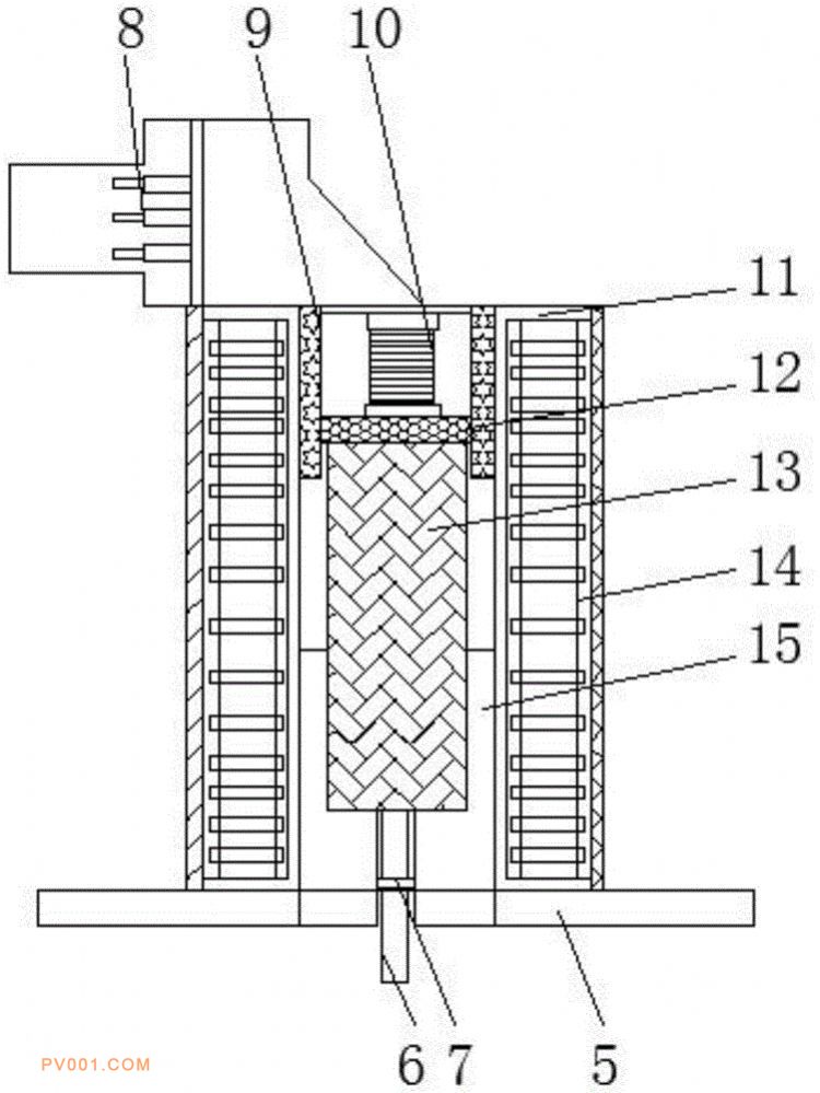
专利摘要:公开(公告)日:2019-11-26摘要:本实用新型公开了一种ECR阀电控结构,包括电控外壳,所述电控外壳上部设置有电控接口,所述电控接口内部设置有插针,所述电控外壳内部设置有第一阀芯和第二阀芯,所述第二阀芯上端和活塞连接,所述活塞和第一阀芯之间通过弹簧连接,所述活塞设置在第一阀芯内部,所述第二阀芯下端设置在定位套的凹槽内,所述第二阀芯下部设置有传动轴,所述传动轴和定位套的通孔之间设置有密封圈,所述第二阀芯位于线圈中部,所述线圈和电控外壳顶端之间设置有线圈支架。本实用新型通过定位套上侧凹槽的深度大于第一阀芯上凹槽的深度,活塞滑动设置在第一阀芯上的凹槽内,活塞在第一阀芯的凹槽内上下移动,从而能够很好的提高第二阀芯移动的稳定性。