当前位置:首页 > 专利资讯 > 正文

【专利】一种流量阀(专利号:201920215711.9)

来源:互联网 时间:2019-12-16 12:03 点击:107
专利号:201920215711.9
专利状态:有权
专利类型:[实用新型]
专利申请人:九牧厨卫股份有限公司
专利分类号:F16K7/16(20060101)
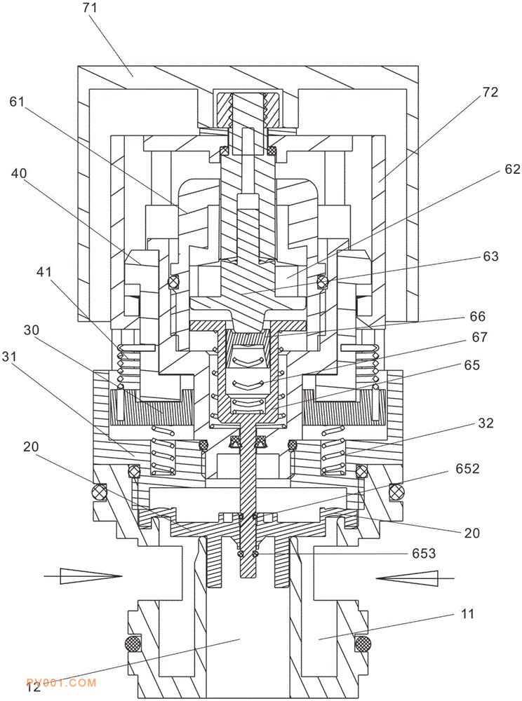
专利摘要:公开(公告)日:2019-11-26摘要:本实用新型公开了一种流量阀,包括本体,所述本体包括进水端和出水端,本体内对应设有进水腔和出水腔,进水腔和出水腔通过过水道连通,还包括:皮碗座,其通过形变或在轴向上的移动以封堵或远离过水道;调节座,其位于皮碗座上方,并在轴向上移动以顶抵或脱离皮碗座;转动座,其位于调节座上方,其沿周向转动并与调节座在轴向上斜面配合;所述调节座与转动座通过配合面间的摩擦固定相对位置。采用上述结构的流量阀,结构简单易于维修,可调节流量阀的过水流量,可承受压力大,不易损坏。