当前位置:首页 > 专利资讯 > 正文

【专利】一种用于三通阀的分料阀板控制机构(专利号:201822248180.1)

来源:互联网 时间:2019-12-16 10:52 点击:127
专利号:201822248180.1
专利状态:有权
专利类型:[实用新型]
专利申请人:合肥众迈机电有限公司
专利分类号:F16K11/052(20060101)
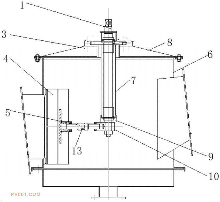
专利摘要:公开(公告)日:2019-11-26摘要:本实用新型公开了一种用于三通阀的分料阀板控制机构,包括有三通阀的阀体,阀体内设有纵向的轴套,轴套底部套装有轴托,轴套内转动安装有转轴,转轴底部穿过轴托伸出轴套外,转轴的伸出端固定套装有轴端调整座,轴端调整座的侧面设有螺纹孔一;所述阀体内设有分料阀板,分料阀板的内端面固定有阀板端调整座,阀板端调整座上设有与螺纹孔一相对的且旋向相同的螺纹孔二,所述螺纹孔一和螺纹孔二之间旋装有调整螺杆,所述调整螺杆中部开有方形通孔。本实用新型结构设计合理,通过调整调节螺杆的转向即可轻松实现拆卸分料阀板的目的,具有省时省力的优点。