当前位置:首页 > 专利资讯 > 正文

【专利】一种燃气喷射阀(专利号:201920293077.0)

来源:互联网 时间:2019-12-16 10:51 点击:110
专利号:201920293077.0
专利状态:有权
专利类型:[实用新型]
专利申请人:中国船舶重工集团公司第七一一研究所
专利分类号:F02M21/02(20060101)
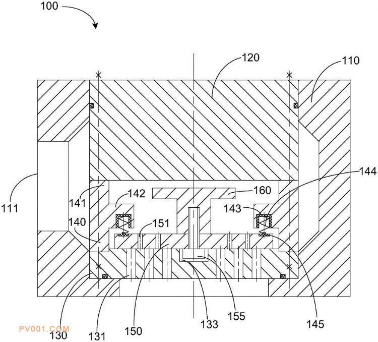
专利摘要:公开(公告)日:2019-11-26摘要:本实用新型公开了一种燃气喷射阀。所述燃气喷射阀包括阀体、电磁铁、静阀盘、弹簧座、动阀盘和衔铁,阀体设置有进气口,电磁铁设置在阀体内部的上方,静阀盘设置在阀体内部的下方,静阀盘上设置有多个第一通孔,弹簧座设置在静阀盘上并且能够支撑电磁铁,弹簧座设置有与进气口连通的第二通孔,动阀盘设置在静阀盘上,衔铁连接至动阀盘,当电磁铁未通电时,动阀盘与静阀盘紧密贴合并且动阀盘密封多个第一通孔,当电磁铁通电时,衔铁沿燃气喷射阀的高度方向带动动阀盘移动以开放多个第一通孔。根据本实用新型提供的燃气喷射阀,气体在阀体内部的流动空间大且流阻小,提高气体的喷射流量,还可以使气体与空气混合得更加均匀,有利于气体燃烧。