当前位置:首页 > 专利资讯 > 正文

【专利】一种汽车阀片加工冲床收料装置(专利号:201822198972.2)

来源:互联网 时间:2019-12-16 10:25 点击:114
专利号:201822198972.2
专利状态:有权
专利类型:[实用新型]
专利申请人:磐石市星环阀片有限公司
专利分类号:B21D43/02(20060101)
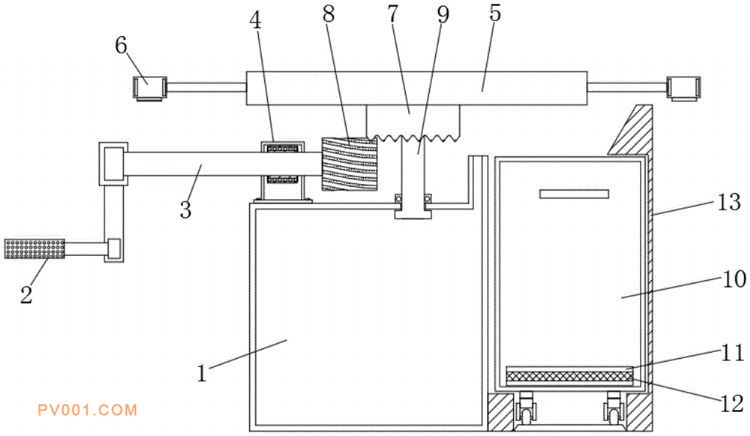
专利摘要:公开(公告)日:2019-11-26摘要:本实用新型公开了一种汽车阀片加工冲床收料装置,包括底座,所述底座的顶端设有轴承座,所述轴承座的内侧贯穿设置有连杆,所述连杆的一端设有摇把,所述连杆的另一端设有传动齿,所述传动齿的右侧设有支撑杆,所述支撑杆的顶端焊接有转盘,所述转盘的下表面焊接有伞齿,所述伞齿的两侧皆设有收料臂,所述底座的右侧设有固定架,所述固定架的内侧设有收集箱,所述收集箱的内侧设有缓冲板,所述缓冲板的内侧设有蜂窝板。本实用新型的有益效果为取料的同时能够对冲床进行及时补料,提高收料效率与加工效率,提高对阀片的防护性。