当前位置:首页 > 专利资讯 > 正文

【专利】一种双向密封三偏心蝶阀(专利号:201920149986.7)

来源:互联网 时间:2019-12-16 10:24 点击:101
专利号:201920149986.7
专利状态:有权
专利类型:[实用新型]
专利申请人:鞍山瑞科阀门制造有限公司
专利分类号:F16K1/22(20060101)
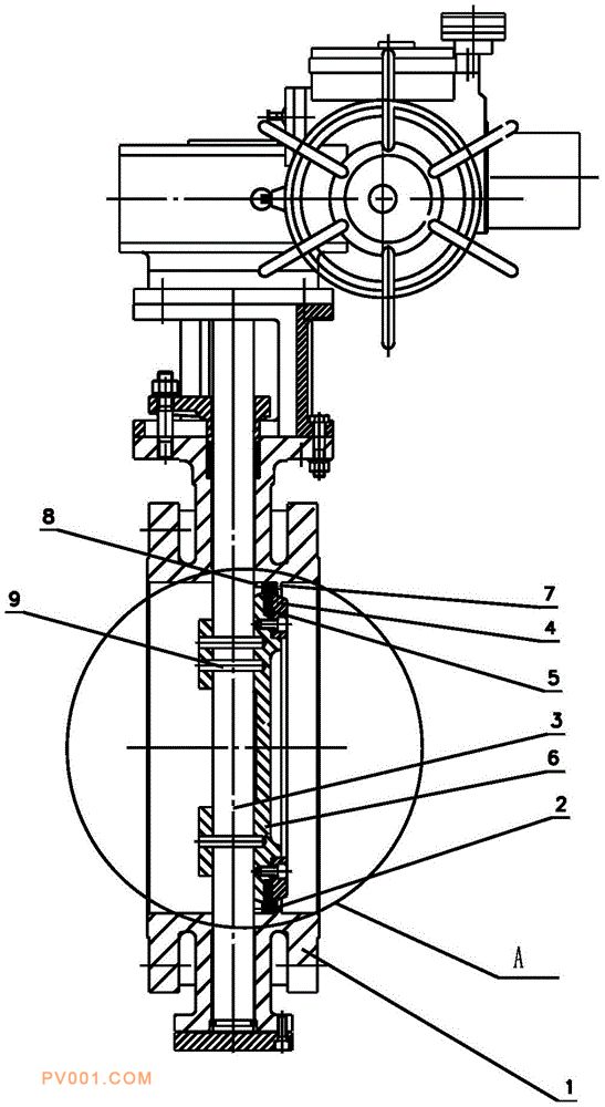
专利摘要:公开(公告)日:2019-11-26摘要:本实用新型涉及三偏心蝶阀,尤其涉及一种双向密封三偏心蝶阀。包括阀体、阀座、阀轴、压板、密封圈、蝶板、限位块、挡圈与销;所述阀座为圆环结构,其内圈设有斜度,内圈为圆台形,阀座安装在阀体内部,阀座一端设有限位块,另一端设有挡圈;阀轴安装在阀体上,蝶板通过销固定在阀轴上,压板通过螺栓固定在蝶板上,压板与蝶板之间设有密封圈,密封圈位于阀座内部。阀座为浮动式阀座,阀座两侧均有限位,而且内圈设有斜度,介质从正面进入或反面进入均可实现密封,可实现双向密封。