当前位置:首页 > 专利资讯 > 正文

【专利】一种阀门生产专用定位工装(专利号:201920156050.7)

来源:互联网 时间:2019-12-16 09:52 点击:135
专利号:201920156050.7
专利状态:有权
专利类型:[实用新型]
专利申请人:大连亿升科技发展有限公司
专利分类号:B23Q3/06(20060101)
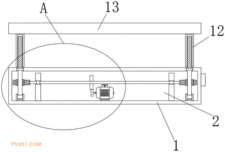
专利摘要:公开(公告)日:2019-11-26摘要:本实用新型属于阀门生产用设备技术领域,尤其为一种阀门生产专用定位工装,包括底座,所述底座上开设有腔体,所述腔体的底部内壁和是哪个固定安装有伺服电机,所述伺服电机的输出轴上固定安装有第一齿轮,所述腔体的底部内壁上固定安装有两个支撑块,两个支撑块上转动安装有第一转动杆,所述第一转动杆上固定套设有第二齿轮,所述第二齿轮与第一齿轮啮合,所述第一转动杆的两端贯穿对应的支撑块并固定安装有蜗杆,所述底座的顶部开设有两个第一通孔,所述两个第一通孔均与腔体连通。本实用新型结构简单,使用方便,可以直接放置定位,以防在加工过程中发生晃动,提高加工生产效率,操作容易,节约时间。