当前位置:首页 > 专利资讯 > 正文

【专利】一种带锁扣球阀(专利号:201920474596.7)

来源:互联网 时间:2019-12-16 08:24 点击:112
专利号:201920474596.7
专利状态:有权
专利类型:[实用新型]
专利申请人:宁波华成阀门有限公司
专利分类号:F16K5/06(20060101)
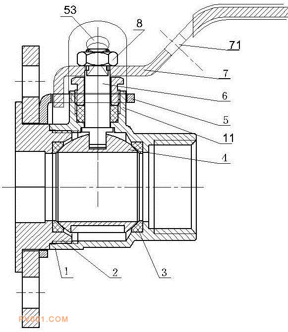
专利摘要:公开(公告)日:2019-11-26摘要:一种带锁扣球阀,包括阀体、阀芯、锁扣、阀杆、手柄、固定螺钉,其中阀体的轴向开口连接有阀盖,阀芯设置在阀体与阀盖形成的腔体内,阀体、阀盖与阀芯之间通过密封垫密封;阀杆设置在阀体的上部圆筒空腔内,阀杆的两端分别连接阀芯和手柄,手柄与阀杆之间通过固定螺钉固定;所述锁扣设置在阀体与阀盖之间,采用的锁扣上有三个孔,与阀体和阀盖装配后,可以防止锁扣径向窜动、轴向移动和旋转,当阀门关闭并在手柄的锁扣上挂上锁时,即使拧下手柄上的固定螺钉,也不能取下手柄,只有打开锁才能打开阀门;本实用新型结构简单,安装方便,防盗性能好,可广泛应用于供水、供暖、供气管路中。