1.节流阀工作原理
节流阀是依靠阀杆压力来改变阀头与阀座之间的介质通道面积来调节介质压力和流量。
2.节流阀用途
节流阀主要是用来调节介质的压力和流量。
3.L61H-32型节流阀的结构及检修工艺
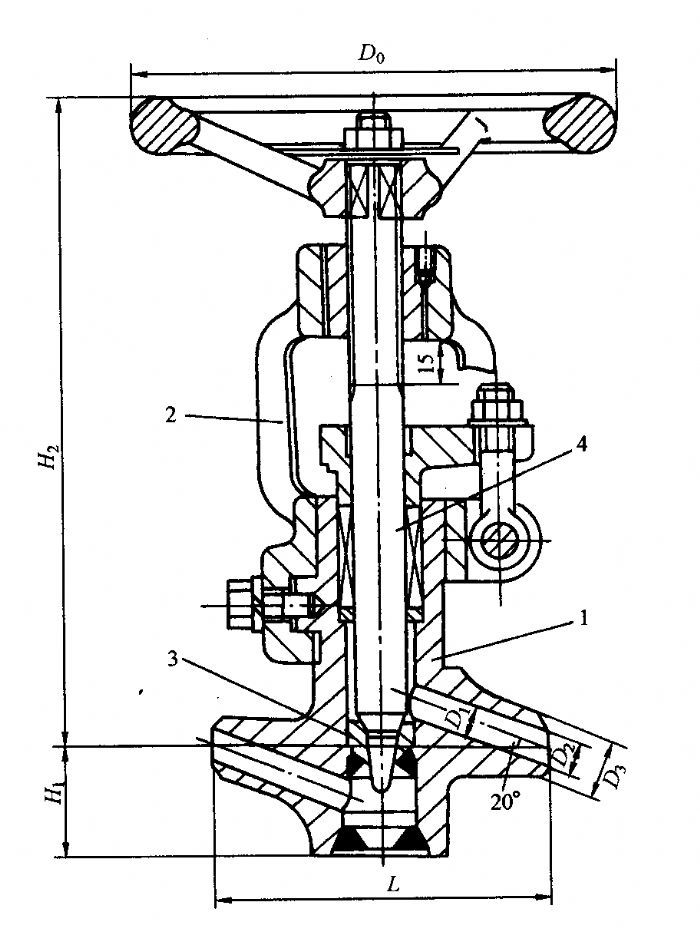
图3-1 L61H-32型节流阀
1-阀体;2-阀盖;3-阀座;4-阀杠
(1)构造。如图3-1所示。为手动升降多级柱塞、夹箍销轴式、支管两端焊接、锥形阀瓣结构。具有体积小、结构简单、拆装方便等优点。
(2)检修工艺。
1)解体。主要包括:
①办理好检修工作票,确认阀门所在管道内无压力,存水后方可开工;
②准备好工器具;
③手动开启阀门1-2扣;
④拆卸上盘根压盖紧固螺栓;
⑤拆卸去阀盖固定螺钉,并将阀盖旋转90°角;
⑥手动关闭,将阀盖升至最高点,用铜棒向上敲击阀盖,拆卸下阀盖及阀杆;
⑦依次拆卸下手轮,旋退出阀杆拆卸下盘根压盖,封好阀口。
2)检修。主要包括:
①检查阀座、阀盖是否有裂纹、砂眼等缺陷,如有应挖净缺陷后补焊;
②阀杆螺扣应完整、无损伤,并应与丝母配合良好,无弯曲腐蚀等现象;
③检查阀杆与阀座密封面,应无麻点、锈蚀、冲刷沟痕等缺陷,做结合试验,阀杆与阀座密封面应圆周接触,阀线清晰;
④测量盘根压盖与门杆及阀盖之间的间隙,一般在0.2~0.25mm之间;
⑤检查各紧固螺栓、螺钉、螺母之间配合应良好,然后清扫、涂铅粉油。
3)组装。主要包括:
①回装前,必须保证阀门各部清洁干净;
②更换新密封填料;
③按照与拆卸相反的步骤回装阀门。

(来源:中国泵阀第一网)
上一篇:阀门涂漆和标志规定
下一篇:管道离心泵选用的八大误区
