当前位置:首页 > 专利资讯 > 正文

【专利】泵吊架(专利号:201921487655.0)

来源:互联网 时间:2020-6-29 12:38 点击:182
专利号:201921487655.0
专利状态:有权
专利类型:[实用新型]
专利申请人:上海外高桥造船有限公司
专利分类号:B66C5/00(20060101)
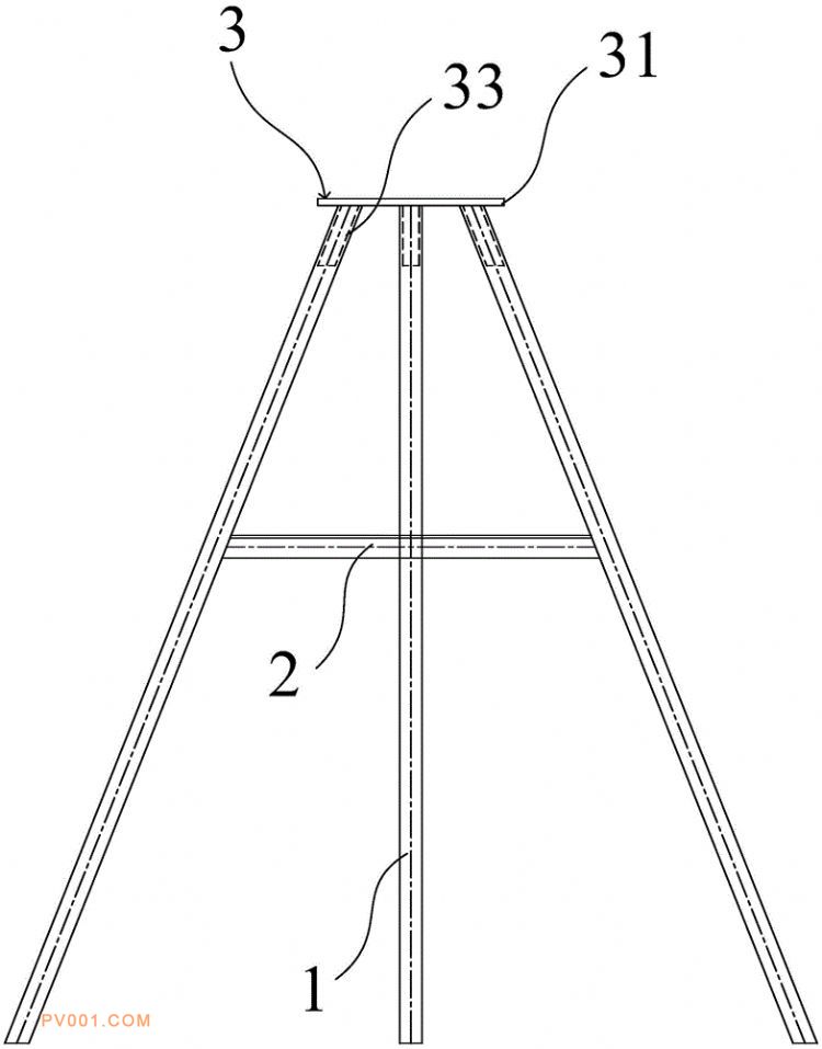
专利摘要:公开(公告)日:2020-06-16摘要:本实用新型提供一种泵吊架,所述泵吊架包括若干个支撑杆、若干个支撑架、若干个连接构件和一个吊架装置,相邻两个所述支撑杆通过所述连接构件与所述支撑架连接,且若干个所述支撑杆和若干个所述支撑架之间形成吊架体,若干个所述支撑杆均倾斜放置,且所述支撑杆的顶部和底部分别具有连接端和支撑端,若干个所述支撑端均用于支撑在支撑面上,若干个所述连接端均与所述吊架装置为可拆卸连接,任意相邻两个所述支撑杆的两个所述连接端之间的距离小于两个所述支撑端之间的距离,所述吊架装置的底部设有一吊码。该泵吊架结构稳定,安装方便,应用范围广,使泵等设备在船舶上搬运更加轻松,节约人力物力。