当前位置:首页 > 专利资讯 > 正文

【专利】一种吸沙泵用水平调节装置(专利号:202010255575.3)

来源:互联网 时间:2020-6-28 08:19 点击:154
专利号:202010255575.3
专利状态:审中-公开
专利类型:[发明]
专利申请人:明光市留香泵业有限公司
专利分类号:F04D29/60(20060101)
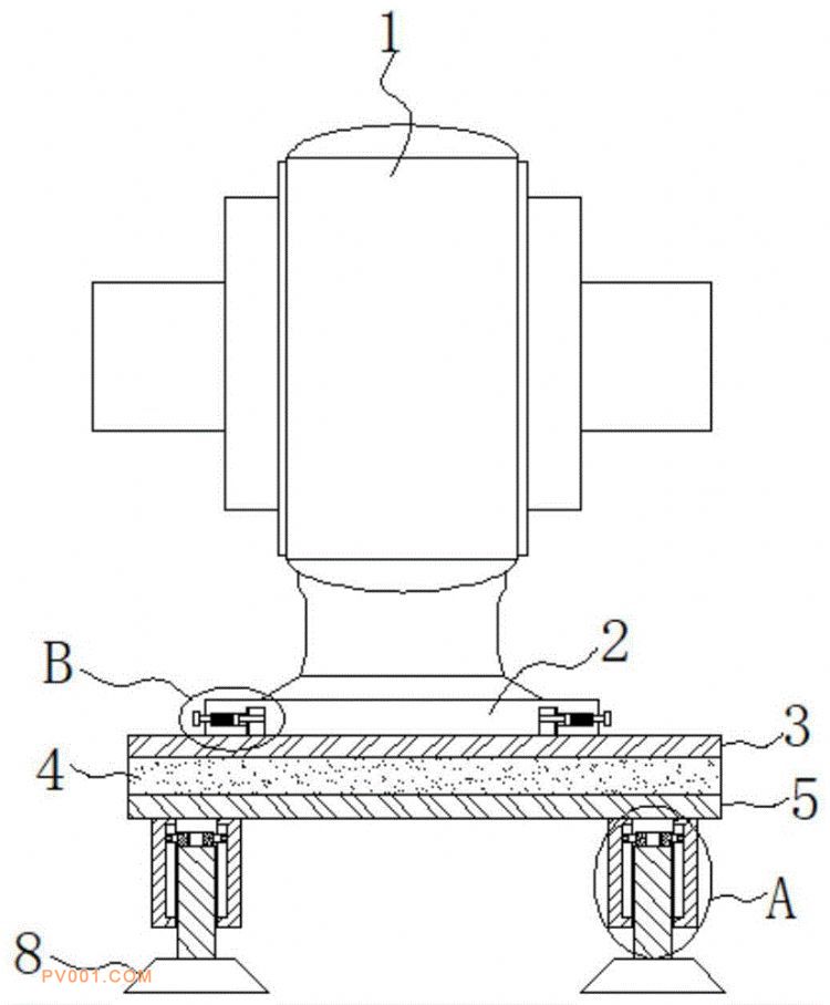
专利摘要:公开(公告)日:2020-06-16摘要:本发明涉及机械设备技术领域,且公开了一种吸沙泵用水平调节装置,包括吸沙泵、底座、上支撑板、橡胶缓冲层和下支撑板,吸沙泵固定安装在底座的上表面,底座的下表面对称开设有条形槽,上支撑板的上表面对称固定连接有与条形槽卡合设置的条形板,且条形板与条形槽之间安装有拆装机构,橡胶缓冲层固定连接在上支撑板和下支撑板之间,且下支撑板底部的四角处均通过调节机构连接有支撑脚;调节机构包括固定连接在支撑脚上表面的螺杆,下支撑板的底部固定连接有与螺杆相对应的螺纹筒,且螺纹筒为底端开口的中空机构。本发明不仅有效保证吸沙泵水平调节的稳定性,而且提高了吸沙泵的拆装效率。