当前位置:首页 > 专利资讯 > 正文

【专利】蠕动泵(专利号:201880072303.0)

来源:互联网 时间:2020-6-27 15:23 点击:224
专利号:201880072303.0
专利状态:审中-公开
专利类型:[发明]
专利申请人:奥纳维微公司
专利分类号:F04B43/12(20060101)
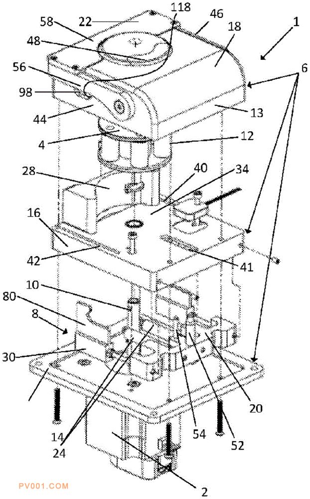
专利摘要:公开(公告)日:2020-06-19摘要:本文公开了一种用于医疗应用的蠕动泵,其包括马达(2)、联接至马达的转子(4)、其中布置有转子的壳体(6)以及打开与闭合机构(8),打开与闭合机构(8)包括管加压部分(28)、滑动器(20)以及与壳体(6)和滑动器(20)联接的可枢转的盖(22)。打开与闭合机构的重点在于可枢转的盖(22),该可枢转的盖通过弹性元件(24)连接至管加压部分(28)。弹性元件由此经由至少一个可调节元件(64)连接,使得弹性元件(24)中的张力或预张力可以根据管类型和材料、泵送流体的粘度和需要泵送的流体量进行调节。