当前位置:首页 > 专利资讯 > 正文

【专利】一种感温切断阀(专利号:201921576437.4)

来源:互联网 时间:2020-6-23 11:35 点击:208
专利号:201921576437.4
专利状态:有权
专利类型:[实用新型]
专利申请人:台州市国人温控卫浴科技有限公司
专利分类号:F16K31/70(20060101)
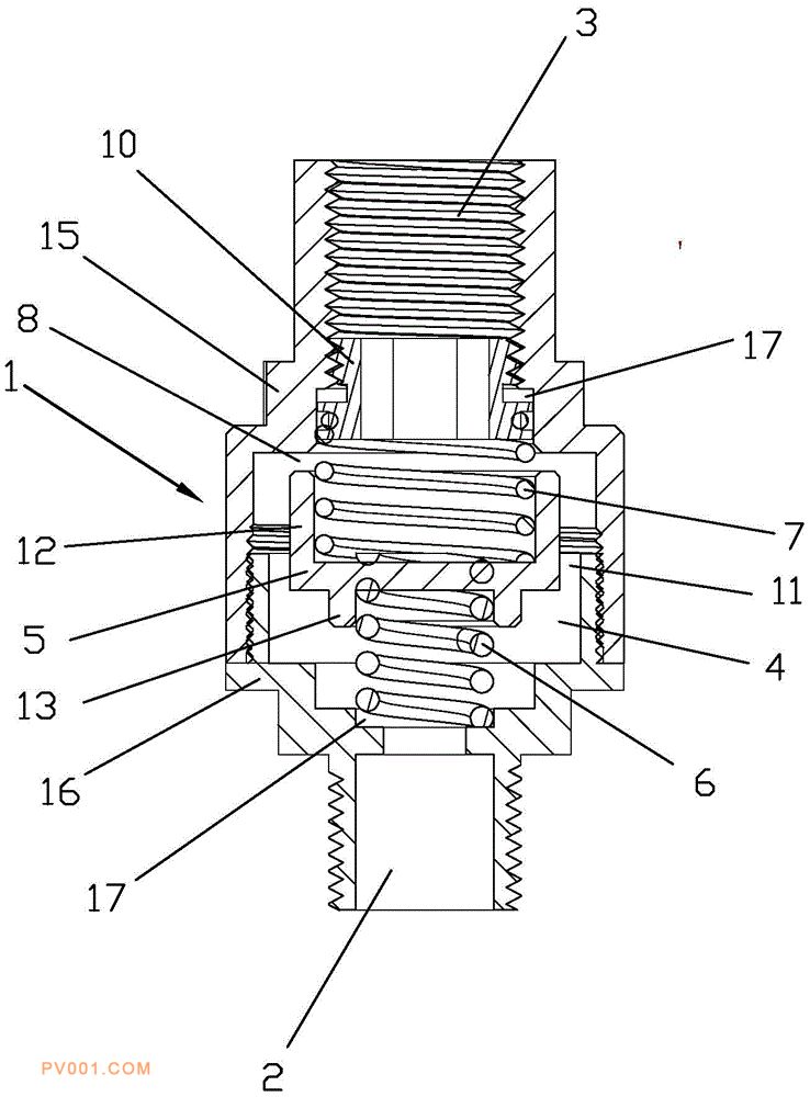
专利摘要:公开(公告)日:2020-05-26摘要:本实用新型公开了一种感温切断阀,包括壳体,壳体两端分别设置有进水口和出水口,壳体内设置有活塞腔,活塞腔内安装有活塞,活塞两侧分别安装有记忆合金弹簧和复位弹簧,活塞上表面和活塞腔上端面之间形成节流口,活塞边缘设置有过流通道或者活塞侧面与活塞腔侧壁之间形成过流通道。该感温切断阀结构简单,适用范围广,感温灵敏程度较高,同时具有较好的通流能力。