当前位置:首页 > 专利资讯 > 正文

【专利】一种油泵调压阀(专利号:201921271791.6)

来源:互联网 时间:2020-6-17 10:08 点击:167
专利号:201921271791.6
专利状态:有权
专利类型:[实用新型]
专利申请人:联合汽车电子有限公司
专利分类号:F02M37/00(20060101)
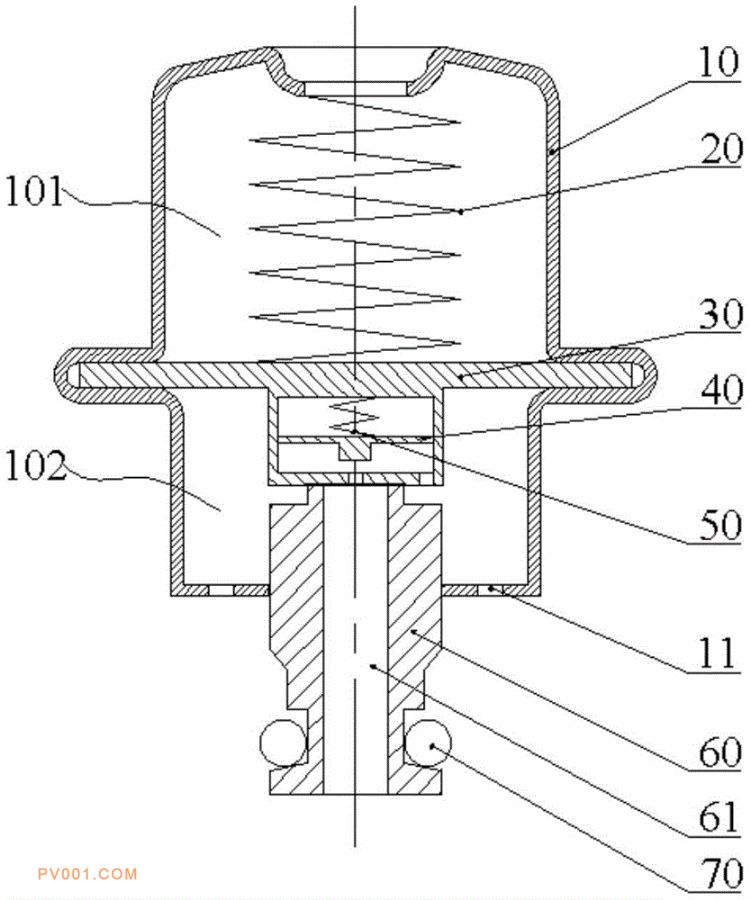
专利摘要:公开(公告)日:2020-05-26摘要:本实用新型公开了一种油泵调压阀,涉及阀门技术领域。所述调压阀包括阀体、调压弹簧、回油结构、调压结构和微泄漏阀;所述调压结构将阀体内部空腔分隔为上腔室和下腔室,所述上腔室顶面和调压结构之间安装所述调压弹簧,所述下腔室设置有进油口,内部设置有回油管的回油结构的进油端插入下腔室后被所述调压结构封闭,所述调压结构上设置所述微泄漏阀,所述微泄漏阀控制连通所述下腔室和所述回油管的微泄漏通道开合;在进油口以微小压力进油时所述微泄漏通道打开泄压,在所述进油口正常压力进油时,调压通道和微泄漏通道同时打开泄压。微泄漏通道迅速降低浸车期间油轨压力,解决了发动机起动困难的问题。