当前位置:首页 > 专利资讯 > 正文

【专利】具有自清洁式空气入口结构的流体泵(专利号:201880065600.2)

来源:互联网 时间:2020-6-17 08:23 点击:202
专利号:201880065600.2
专利状态:审中-公开
专利类型:[发明]
专利申请人:QED环境系统有限责任公司
专利分类号:F04B9/12(20060101)
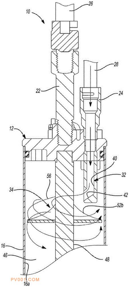
专利摘要:公开(公告)日:2020-05-26摘要:本申请公开了一种气动流体泵设备,该气动流体泵设备利用泵外壳、固定在泵外壳的第一端处的泵盖、和液体排放管。与泵盖连通的液体排放管在泵外壳的内部区域中至少部分地朝向泵外壳的第二端延伸,在泵外壳的第二端处允许接纳流体。泵盖可以包括:第一部分,所述第一部分用于接收来自外部加压空气源的加压气流;和第二部分,所述第二部分与第一部分以及泵外壳的内部区域连通。第二部分将通过第一部分接收的加压空气引向泵外壳的内壁部分,以在外壳内产生旋涡气流。旋涡气流以旋涡的方式朝向泵外壳的第二端移动,以帮助清洁泵外壳的内壁部分。