当前位置:首页 > 专利资讯 > 正文

【专利】一种高效切割泵(专利号:201921593451.5)

来源:互联网 时间:2020-5-29 14:08 点击:163
专利号:201921593451.5
专利状态:有权
专利类型:[实用新型]
专利申请人:依菲柯水泵有限公司
专利分类号:F04D7/00(20060101)
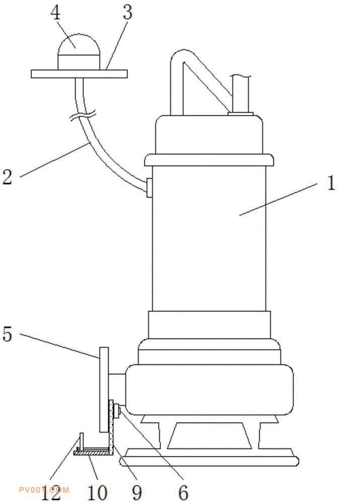
专利摘要:公开(公告)日:2020-05-22摘要:本实用新型公开了一种高效切割泵,包括高效切割泵本体、定位浮板、LED警示灯本体和连接管本体,所述高效切割泵本体上固定有铁丝芯尼龙绳,所述高效切割泵本体底部边侧设置有连接管本体,所述固定螺纹杆贯穿轨迹窗,且轨迹窗开设在垂直板上,所述垂直板固定在水平板边侧,且垂直板上安装有调整螺纹杆,并且调整螺纹杆贯穿夹紧板,所述夹紧板底端固定有底块,且底块与稳定槽贴合,并且稳定槽开设在水平板的顶部。该高效切割泵,采用新型的结构设计,使得本装置可以对高效切割泵底部边侧与污水输送管道连接出进行夹紧固定和保护,避免连接处在拖拽的过程中与水底碰撞受损,且可以便捷的进行定位,便于拖拽高效切割泵到达水底低洼处的较佳工作位置。