当前位置:首页 > 专利资讯 > 正文

【专利】防气锁油气混抽泵及管柱(专利号:201811362601.1)

来源:互联网 时间:2020-5-29 13:56 点击:174
专利号:201811362601.1
专利状态:审中-公开
专利类型:[发明]
专利申请人:中国石油化工股份有限公司
专利分类号:中国石油化工股份有限公司胜利油田分公司胜利采油厂
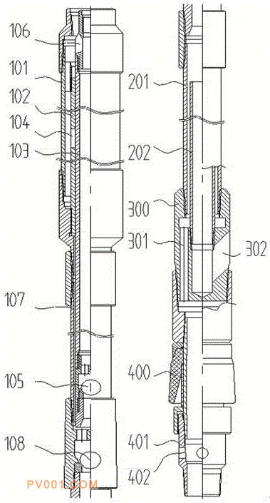
专利摘要:公开(公告)日:2020-05-22摘要:本发明公开了防气锁油气混抽泵及管柱,其中防气锁油气混抽泵,包括泵筒及设置在泵筒内的柱塞,所述柱塞下端口设置游动阀,柱塞上端连接内上接头,内上接头开设径向的出油孔,所述泵筒中部开设径向贯通的进液排气孔,在泵筒的外部空套有外管,外管上端连接外上接头,泵筒外壁与外管内壁之间形成第一环空,所述进液排气孔将泵筒内腔与上述第一环空连通,所述外管下端通过变径连接套与加长管连接,加长管内壁与柱塞外壁具有间隙,所述泵筒下端与变径连接套内壁丝扣式连接,所述第一环空下端为盲端,上端则为贯通状态,所述出油孔与第一环空为连通状态。本发明防止抽油泵出现气锁的现象。主要解决当前油井生产中的套管气安全隐患及环境污染问题。