当前位置:首页 > 专利资讯 > 正文

【专利】回流式盐水泵(专利号:201921401122.6)

来源:互联网 时间:2020-5-28 10:42 点击:215
专利号:201921401122.6
专利状态:有权
专利类型:[实用新型]
专利申请人:江苏振华泵业制造有限公司
专利分类号:F04D13/06(20060101)
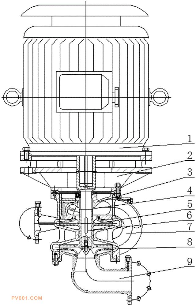
专利摘要:公开(公告)日:2020-05-12摘要:本实用新型公开了一种回流式盐水泵,它包括电机、托架、上泵盖、机械密封、上叶轮、泵轴、泵体、下叶轮和下泵盖。所述电机借助托架与泵体相连接,泵体内的泵轴直联电机输出轴端,泵轴轴向贯穿上泵盖,在两者结合处设有机械密封。所述泵体内设两道尺寸相同的流道,相邻流道之间由预置的回流通道作沟通,位于泵体上部的流道安置上叶轮,位于泵体下部的流道安置下叶轮,两只叶轮以吸入口相背安装。所述下泵盖是一种角弯管构件,一端与泵体底端连接,余下的一端是泵体的吸入口。本实用新型通过内置大截面的回流通道实现两只流道无障碍沟通,再加上顺序增压结构配置的叶轮采用背靠背安装,使得回流式盐水泵运行平衡,升压可靠,避免发生内堵故障。