当前位置:首页 > 专利资讯 > 正文

【专利】一种高压恒流泵的柱塞密封件(专利号:201811144309.2;109209854B)

来源:互联网 时间:2020-5-14 14:10 点击:168
专利号:201811144309.2;109209854B
专利状态:有权
专利类型:[发明授权]
专利申请人:江苏同济分析仪器有限公司
专利分类号:F04B53/14(20060101)
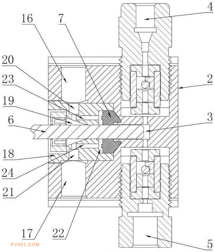
专利摘要:公开(公告)日:2020-05-05摘要:本发明提供一种高压恒流泵的柱塞密封件,高压恒流泵包括泵主体以及与泵主体固定连接的泵头,泵头内设有泵室以及与泵室连通的泵入孔和泵出孔,泵主体内设有滑动于泵室内的柱塞,柱塞密封件包括固定于柱塞上的密封环,密封环套设于柱塞上,密封环大体呈圆台型,密封环靠近泵室的一端直径小于密封环另一端的直径,密封环包括一体成型的滑动段和配合密封段,滑动段呈柱状,配合密封段呈圆台型,泵头内设有容纳配合密封段的密封腔,配合密封段能够滑动于密封腔内,密封腔的内底部设有与配合密封段相配合的锥面。本发明减少柱塞与密封件之间的摩擦力,延长柱塞的使用寿命,同时不影响密封效果。