当前位置:首页 > 专利资讯 > 正文

【专利】一种电子水泵结构(专利号:201921178529.7)

来源:互联网 时间:2020-5-14 13:17 点击:170
专利号:201921178529.7
专利状态:有权
专利类型:[实用新型]
专利申请人:成都富临精工电子电器科技有限公司
专利分类号:F04D13/06(20060101)
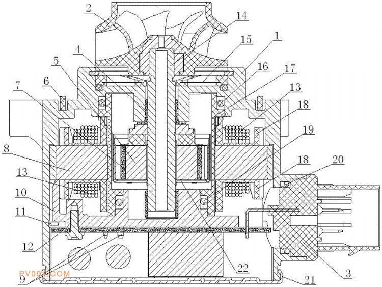
专利摘要:公开(公告)日:2020-05-05摘要:本实用新型提供一种电子水泵结构,包括泵体(1)、叶轮(2)、转子(5)、定子(8)和后盖(21),所述的定子(8)、后盖(21)分别与泵体(1)固定连接,所述的叶轮(2)与泵轴(14)固定连接,所述的泵轴(14)贯穿转子(5)、且与转子(5)固定连接,所述的叶轮(2)外露于泵体(1),所述的后盖(21)上可以形成吸振结构。采用本实用新型,使该电子水泵无需蜗壳,以便将蜗壳集成到发动机缸盖上,减小了电子水泵的体积,降低了泵体安装支架的载荷以及自身振动,有利于延长电子水泵的使用寿命,并且提高其工作效率,降低电子水泵的制造成本。