当前位置:首页 > 专利资讯 > 正文

【专利】带油泵的平衡装置以及平衡装置(专利号:201880061261.0)

来源:互联网 时间:2020-5-13 15:17 点击:141
专利号:201880061261.0
专利状态:审中-公开
专利类型:[发明]
专利申请人:日立汽车系统株式会社
专利分类号:F02B77/00(20060101)
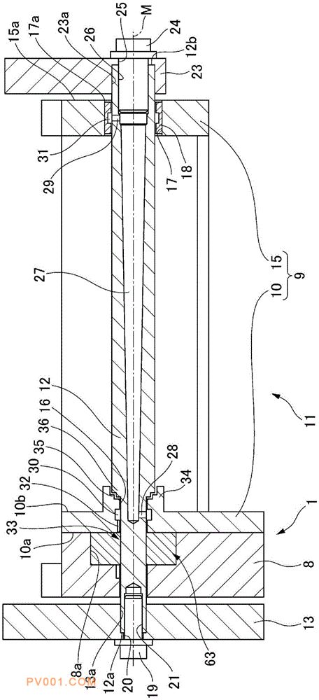
专利摘要:公开(公告)日:2020-05-05摘要:带油泵(1)的平衡装置(11)具有:封堵泵壳体(8)的凹部(8a)的泵壳体侧壁部(10);与该泵壳体侧壁部(10)对置的非泵壳体侧壁部(15);利用设于壁部(10、15)的第一轴承部(16)以及平面轴承(18)轴支承的平衡轴(12)。平衡轴(12)具有形成于其内部,以从第一开口部(28)越向第二开口部(29)越以圆锥状扩径的方式延伸的油通路(27)。第一开口部(28)在形成于第一轴承部(16)的环状槽部(30)开口。环状槽部(30)经由形成于第一轴承部(16)的油槽(32),与凹部(8a)连通。另外,第二开口部(29)在形成于平面轴承(18)的内周面的环状的轴承槽部(31)开口。