当前位置:首页 > 专利资讯 > 正文

【专利】一种多重混合泵(专利号:201920038747.4)

来源:互联网 时间:2020-5-11 09:24 点击:141
专利号:201920038747.4
专利状态:有权
专利类型:[实用新型]
专利申请人:长春工业大学
专利分类号:B01F5/12(20060101)
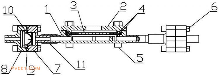
专利摘要:公开(公告)日:2020-05-08摘要:一种多重混合泵,所述泵体的内腔设置矩形流道,矩形流道内设置三个呈品字排列的圆柱体。所述泵体(1)的内腔设置矩形流道(1?2),矩形流道(1?2)内设置三个呈品字排列的圆柱体(1?3)。泵体入口通道流道呈Y形,使不同混合液在进口处就发生交汇混合,增强了混合效果。以十字硅胶阀作为单向阀,十字硅胶阀易开启,对液体能量损耗小、具有良好的截止性,将十字硅胶阀设置在腔外便于拆卸。腔内设置的矩形流道对混合液具有很好的导流作用,矩形流道上设置了三个呈品字排列的圆柱体,当混合液流经圆柱体时会产生旋涡,进一步增强了液体的混合效果。