当前位置:首页 > 专利资讯 > 正文

【专利】高密封性汽车电磁暖水阀(专利号:201921327985.3)

来源:互联网 时间:2020-5-8 12:52 点击:130
专利号:201921327985.3
专利状态:有权
专利类型:[实用新型]
专利申请人:浙江荣际汽车零部件有限公司
专利分类号:F16K11/20(20060101)
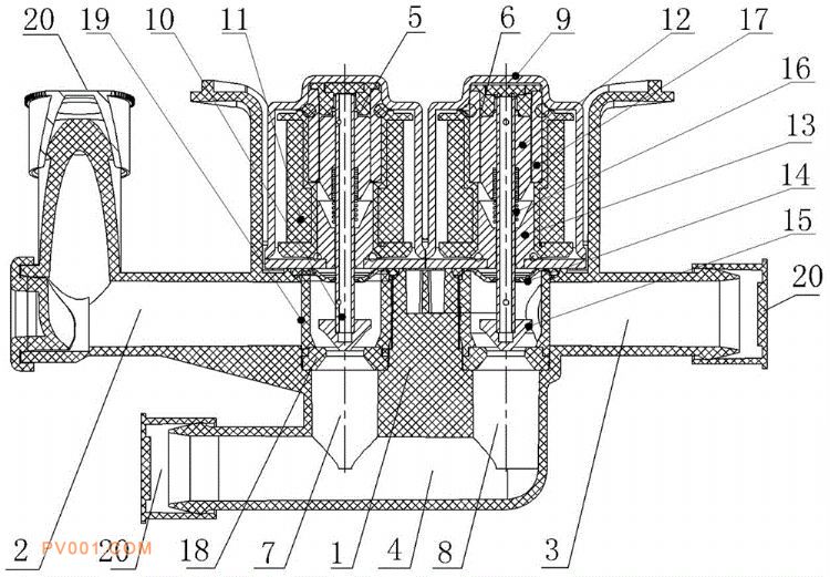
专利摘要:公开(公告)日:2020-04-17摘要:本实用新型公开了一种高密封性汽车电磁暖水阀,包括有阀体,其特征在于:所述阀体上设有第一进水通道、第二进水通道、出水通道、第一电磁阀和第二电磁阀,第一进水通道通过第一中心通孔连通出水通道,第一电磁阀与第一中心通孔启闭配合,第二进水通道通过第二中心通孔连通出水通道,第二电磁阀与第二中心通孔启闭配合;所述第一电磁阀与第二电磁阀均包括有壳体、阀杆、线圈组件、动铁芯和定铁芯,壳体下端口设有密封隔膜,线圈组件设置在壳体内,阀杆可轴向移动设置在线圈组件中心并穿过密封隔膜,阀杆下端设有锥形密封头,阀杆上固定设有动铁芯和活动设有定铁芯,且动铁芯与定铁芯之间设有复位弹簧。本实用新型结构合理、性能稳定。