当前位置:首页 > 专利资讯 > 正文

【专利】一种纸浆输送专用泵(专利号:201921377775.5)

来源:互联网 时间:2020-5-8 10:24 点击:144
专利号:201921377775.5
专利状态:有权
专利类型:[实用新型]
专利申请人:无锡市德仕比智能流体科技有限公司
专利分类号:F04D7/04(20060101)
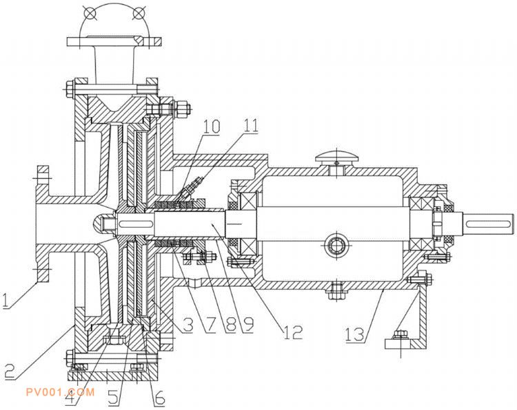
专利摘要:公开(公告)日:2020-04-17摘要:本实用新型公开了一种纸浆输送专用泵,包括前泵盖、后泵盖、泵体、悬架、泵轴,泵轴的前端固定有主叶轮和副叶轮,主叶轮和副叶轮之间设有中泵盖;主叶轮包括主盖板,主盖板的前侧面设有主叶片,主盖板的后侧面设有背叶片,主盖板的中部固接有轮毂,轮毂上开有环形槽;副叶轮包括副盖板,副盖板的后侧面设有副叶片;中泵盖截面呈“Z”形状,包括内板、中板、外板,内板置于背叶片和副盖板之间,内板的内端部设于环形槽内,中板置于副盖板的外端部,外板与后泵盖固定连接。本实用新型采用填料密封,利用背叶片和副叶轮增压,使得后泵腔的压力高于前泵腔的压力,阻止大部分的纸浆组织进入到密封腔内,实现了纸浆输送时泵的正常运转,维修更便捷。