当前位置:首页 > 专利资讯 > 正文

【专利】可自由组合的两联四位三通电磁阀(专利号:201921038338.0)

来源:互联网 时间:2020-5-7 10:50 点击:165
专利号:201921038338.0
专利状态:有权
专利类型:[实用新型]
专利申请人:厦门坤锦电子科技有限公司
专利分类号:F15B13/02(20060101)
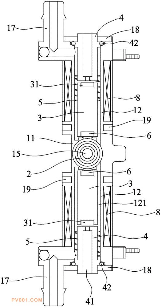
专利摘要:公开(公告)日:2020-04-17摘要:本实用新型公开了一种可自由组合的两联四位三通电磁阀,包括:至少一个阀体、一进气风嘴、至少两个阀芯、至少两个泄气接头、至少两个弹簧、至少两个气塞及一阀塞;阀体包括转接座及两线架,转接座设有进气接头及插接口,每一线架分别设有一所述阀芯、一泄气接头、一弹簧及一气塞,各线架的外周分别绕设有线圈,本实用新型将充气、泄气集成在一起,且可根据实际使用需求选择需要的电磁阀数量,通过一个共同的进气端同时对组合在一起的多个电磁阀进行充气,大大减少安装体积,不但大幅提升安装的方便性,还能使制造及安装成本大为降低。